Cam Position Sensor Mount: Service and Repair
Alignment Gauge, Synchronizer:
SPECIAL SERVICE TOOL(S)
REMOVAL
1. Rotate the crankshaft until the No. 1 cylinder is at top dead center of the compression stroke.
CAUTION: Do not turn the crankshaft or the camshaft during the removal and installation procedure or the fuel system timing will be out of time with the engine and possibly cause engine damage.
2. Remove the Camshaft Position (CMP) Sensor.
3. Remove the camshaft synchronizer bolt.
4. Remove the camshaft synchronizer.
NOTE: The oil pump driveshaft might come out with the camshaft synchronizer. If so, retrieve the oil pump drive shaft before proceeding.
INSTALLATION
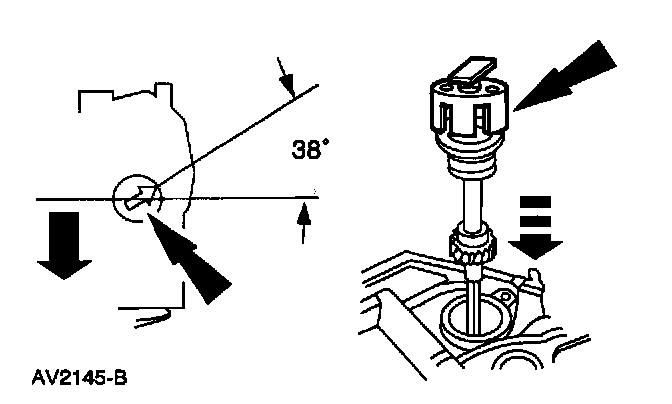
1. Install the special tool on the camshaft synchronizer by rotating the tool until it engages the notch in the camshaft synchronizer housing and the armature.
CAUTION:
- A special tool must be used during the installation of the replacement synchronizer assembly. Failure to follow this procedure will result in the fuel system being out of time with the engine, possibly causing engine damage.
- It is very important to coat the gear on the camshaft synchronizer with super premium SAE5W-30 Motor Oil XO-5W30-QSP or equivalent meeting Ford specification WSS-M2C153-G or equivalent, Prior to installation. Failure to do so could result in gear failure.
2. Install the camshaft synchronizer housing assembly so the arrow on the special tool is 38 degrees from the centerline of the engine.
NOTE: During installation, the arrow on the special tool will rotate clockwise until oil pump intermediate shaft and camshaft gear engages.
3. Install the camshaft synchronizer bolt.
4. Install the Camshaft Position Sensor.