Operation CHARM: Car repair manuals for everyone.
Manuals through 2025 now available!

Our trusted friends have launched a new website named LEMON, which has newer manuals. It also contains all the CHARM manuals.

LEMON is the spiritual successor to CHARM, I recommend you try it!

Link: lemon-manuals.la or lemon-manuals.org.ua

(Some people have issue connecting. LEMON is investigating. For now, use Firefox or change your DNS server)

Or, hide this message: temporarily or permanently

Wiper Switch: Service and Repair

MULTIFUNCTION SWITCH

Removal

1. Disconnect the battery ground cable.





2. Twist the tilt wheel handle and shank counterclockwise and remove.





3. Remove the upper and lower steering column shrouds.
1 Remove the screws.
2 Remove the upper and lower steering column shrouds.





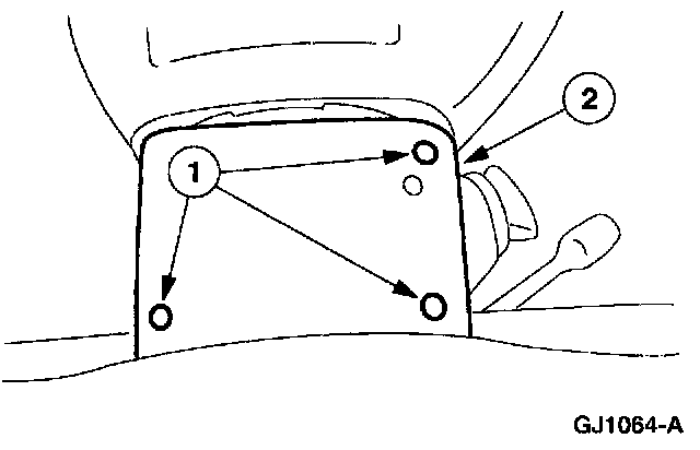
4. Remove the multifunction switch.
1 Remove the screws.
2 Disconnect the electrical connectors.
3 Remove the multifunction switch.

Installation

1. Note: When the battery is disconnected and reconnected, some abnormal drive symptoms may occur while the vehicle relearns its adaptive strategy. The vehicle may need to be driven 16 km (10 miles) or more to relearn the strategy.





To install, reverse the removal procedure.