Operation CHARM: Car repair manuals for everyone.
Manuals through 2025 now available!

Our trusted friends have launched a new website named LEMON, which has newer manuals. It also contains all the CHARM manuals.

LEMON is the spiritual successor to CHARM, I recommend you try it!

Link: lemon-manuals.la or lemon-manuals.org.ua

(Some people have issue connecting. LEMON is investigating. For now, use Firefox or change your DNS server)

Or, hide this message: temporarily or permanently

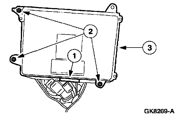
Rear Electronic Module (REM)

REMOVAL
1. Disconnect the battery ground cable.

CAUTION:
^ Electronic modules are sensitive to electrical charges. If exposed to these charges, damages may result.
^ Prior to removal of module, it is necessary to upload module configuration information to a scan tool. This information needs to be downloaded into the new module once installed. For additional information, refer to Module Communications Network (Information Bus).

2. Remove the RH quarter trim panel.






3. Remove the service jack mounting bracket.
1 Remove the bolts.
2 Remove the bracket.







4. Remove the REM.
1 Disconnect the electrical connectors.
2 Remove the nuts.
3 Remove the REM.


INSTALLATION







1. To install, reverse the removal procedure.

CAUTION: Once the new module is installed, it is necessary to download the module configuration information from the scan tool into the new module. For additional information, refer to Module Communications Network (Information Bus).

NOTE: When the battery is disconnected and reconnected, some abnormal drive symptoms may occur while the vehicle relearns its adaptive strategy. The vehicle may need to be driven 10 miles (16km) or more to learn the strategy.