Operation CHARM: Car repair manuals for everyone.
Manuals through 2025 now available!

Our trusted friends have launched a new website named LEMON, which has newer manuals. It also contains all the CHARM manuals.

LEMON is the spiritual successor to CHARM, I recommend you try it!

Link: lemon-manuals.la or lemon-manuals.org.ua

(Some people have issue connecting. LEMON is investigating. For now, use Firefox or change your DNS server)

Or, hide this message: temporarily or permanently

Brake Pad: Service and Repair

Removal
1. Remove the brake master cylinder filler cap. Check the brake fluid level in the brake master cylinder reservoir. Remove fluid until the brake master cylinder reservoir is half full.
2. Raise and support the vehicle.
3. Remove the wheel and tire assembly.





4. CAUTION: Install a new pad if worn to or past the specified thickness above the metal backing plate or rivets. Install new pads in complete axle sets.

Inspect the pads for wear and contamination.





5. CAUTION: Do not pry in caliper sight hole to retract pistons as this can damage the pistons and boots.

CAUTION: When removing the disc brake caliper, never allow it to hang from the brake hose. Provide a suitable support.

Remove the disc brake caliper.
1. Remove two front disc brake caliper bolts.
2. Lift the disc brake caliper off the front disc brake caliper anchor plate.





6. Measure the front brake disc thickness.
- Install a new front brake disc if not within specification.





7. Inspect the disc brake caliper.
- If leaks or damaged boots are found, disassembly is required.





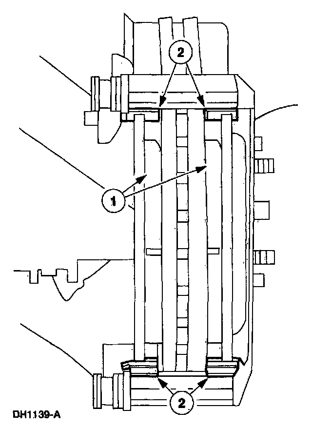
8. Remove the pads and stainless steel slippers.
1. Remove the pads and verify thickness.
2. Remove the front disc bake caliper anchor plate stainless steel slippers and died.





9. Inspect the front disc brake anchor plate assembly.
- Check the guide pin boots for damage.
- Check the guide pins for binding and damage.
- Replace worn or damaged pins. Lube pins with Silicone Brake Caliper Grease and Dielectric Compound D7Z-19A331-A or equivalent meeting Ford specification ESE-M1CI71-A.

Installation





1. CAUTION: Do not allow grease, oil, brake fluid or other contaminants to contact the pad lining material. Do not install contaminated pads.

Note: Install all new hardware supplied with pad kit and spring kit.

Install the pads.
1. Install the new front disc brake caliper anchor plate stainless steel slippers. Make sure taps point away from brake disc as illustrated.
2. Install the pads.





2. Note: Use a wood block or used pad to protect pistons and boots.

Compress the caliper pistons.





3. CAUTION: Use care not to damage the bleeder screw or brake disc shield.

Install the disc brake caliper.
1. Install the disc brake caliper.
2. Install the disc brake caliper bolts; tighten the top bolt first.
4. Install the wheel and tire assembly.
5. Lower the vehicle.
6. Fill the brake master cylinder reservoir with clean High Performance DOT 3 Brake Fluid C6AZ-19542-AB or equivalent DOT 3 fluid meeting Ford specification ESA-M6C25-A.
- Install brake master cylinder filler cap.
7. Inspect brake operation.