Operation CHARM: Car repair manuals for everyone.
Manuals through 2025 now available!

Our trusted friends have launched a new website named LEMON, which has newer manuals. It also contains all the CHARM manuals.

LEMON is the spiritual successor to CHARM, I recommend you try it!

Link: lemon-manuals.la or lemon-manuals.org.ua

(Some people have issue connecting. LEMON is investigating. For now, use Firefox or change your DNS server)

Or, hide this message: temporarily or permanently

Impact Sensor: Service and Repair

REMOVAL

WARNING:
^ VEHICLE SENSOR ORIENTATION IS CRITICAL FOR CORRECT SYSTEM OPERATION. IF A VEHICLE EQUIPPED WITH AN AIR BAG SUPPLEMENTAL RESTRAINT SYSTEM (SRS) IS INVOLVED IN A COLLISION, INSPECT THE SENSOR MOUNTING BRACKET AND WIRING PIGTAIL FOR DEFORMATION. REPLACE AND PROPERLY POSITION THE SENSOR OR ANY OTHER DAMAGED SUPPLEMENTAL RESTRAINT SYSTEM (SRS) COMPONENTS WHETHER OR NOT THE AIR BAG IS DEPLOYED.
^ TO AVOID ACCIDENTAL DEPLOYMENT AND POSSIBLE PERSONAL INJURY, THE BACKUP POWER SUPPLY MUST BE DEPLETED BEFORE REPAIRING OR REPLACING ANY FRONT OR SIDE AIR BAG SUPPLEMENTAL RESTRAINT SYSTEM (SRS) COMPONENTS AND BEFORE SERVICING, REPLACING, ADJUSTING OR STRIKING COMPONENTS NEAR THE FRONT OR SIDE AIR BAG SENSORS, SUCH AS DOORS, INSTRUMENT PANEL, CONSOLE, DOOR LATCHES, STRIKERS, SEATS AND HOOD LATCHES.
^ PLEASE REFER TO THE APPROPRIATE COMPONENT OR SYSTEM TO DETERMINE LOCATION OF THE FRONT AIR BAG SENSORS.
^ THE SIDE AIR BAG SENSORS ARE LOCATED AT OR NEAR THE BASE OF THE B-PILLAR.
^ TO DEPLETE THE BACKUP POWER SUPPLY ENERGY, DISCONNECT THE BATTERY GROUND CABLE AND WAIT AT LEAST ONE MINUTE. BE SURE TO DISCONNECT AUXILIARY BATTERIES AND POWER SUPPLIES (IF EQUIPPED).


NOTE:
^ Repair is made by installing a new part only. If the new part does not correct the condition, install the original part and perform the diagnostic procedure again.
^ Left side is shown, right side is similar.
^ The side crash sensors are located under the carpet beneath the front seats.

1. Disconnect the battery ground cable and wait at least one minute.
2. Remove the front seat from the vehicle.
3. Position the carpet back to access the side crash sensor.







4. Remove the side crash sensor.
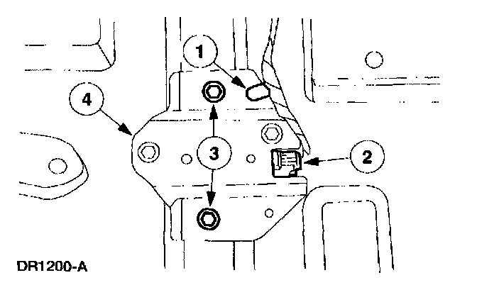
1 Remove the wiring harness push pin from the side crash sensor.
2 Disconnect the electrical connector.
3 Remove the side crash sensor retaining bolts.
4 Remove the side crash sensor and bracket.

NOTE: The left side is shown, the right side is similar.

INSTALLATION

WARNING:
^ VEHICLE SENSOR ORIENTATION IS CRITICAL FOR CORRECT SYSTEM OPERATION. IF A VEHICLE EQUIPPED WITH AN AIR BAG SUPPLEMENTAL RESTRAINT SYSTEM (SRS) IS INVOLVED IN A COLLISION, INSPECT THE SENSOR MOUNTING BRACKET AND WIRING PIGTAIL FOR DEFORMATION. REPLACE AND PROPERLY POSITION THE SENSOR OR ANY OTHER DAMAGED SUPPLEMENTAL RESTRAINT SYSTEM (SRS) COMPONENTS WHETHER OR NOT THE AIR BAG IS DEPLOYED.
^ THE TIGHTENING TORQUE OF THE AIR BAG SIDE CRASH SENSOR RETAINING BOLTS IS CRITICAL FOR CORRECT SYSTEM OPERATION.


NOTE: Repair is made by installing a new part only. If the new part does not correct the condition, install the original part and perform the diagnostic procedure again.







1. To install, follow the removal procedure in reverse order.
2. Prove out the air bag system.

WARNING: THE RESTRAINT SYSTEM DIAGNOSTIC TOOL IS FOR RESTRAINT SYSTEM SERVICE ONLY. REMOVE FROM VEHICLE PRIOR TO ROAD USE. FAILURE TO REMOVE COULD RESULT IN INJURY AND POSSIBLE VIOLATION OF VEHICLE SAFETY STANDARDS.