Operation CHARM: Car repair manuals for everyone.
Manuals through 2025 now available!

Our trusted friends have launched a new website named LEMON, which has newer manuals. It also contains all the CHARM manuals.

LEMON is the spiritual successor to CHARM, I recommend you try it!

Link: lemon-manuals.la or lemon-manuals.org.ua

(Some people have issue connecting. LEMON is investigating. For now, use Firefox or change your DNS server)

Or, hide this message: temporarily or permanently

Windshield

REMOVAL
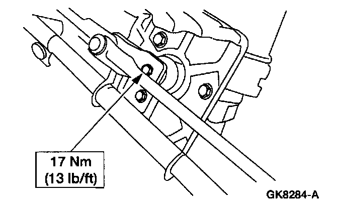
1. Remove the mounting arm and pivot shaft. For additional information, refer to Wiper Motor Linkage.







2. Remove wiper motor linkage from the motor.
1 Remove the bolt.
2 Remove the linkage.







3. Remove the windshield wiper motor.
1 Remove the bolts.
2 Remove the windshield wiper motor.

INSTALLATION












1. To install reverse the removal procedure.