Operation CHARM: Car repair manuals for everyone.
Manuals through 2025 now available!

Our trusted friends have launched a new website named LEMON, which has newer manuals. It also contains all the CHARM manuals.

LEMON is the spiritual successor to CHARM, I recommend you try it!

Link: lemon-manuals.la or lemon-manuals.org.ua

(Some people have issue connecting. LEMON is investigating. For now, use Firefox or change your DNS server)

Or, hide this message: temporarily or permanently

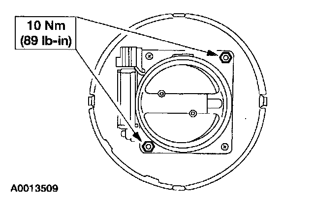
Air Flow Meter/Sensor: Service and Repair

REMOVAL
1. Disconnect the battery ground cable.
2. Remove the air cleaner assembly.







3. Open the air cleaner.
^ Release the air cleaner clamp.
^ Separate the inlet side from the outlet side of the air cleaner.

CAUTION: Do not tamper with the Mass Air Flow (MAF) sensing elements located in the airflow meter. Tampering may result in unit failure.

NOTE: The MAF sensor and body are calibrated and serviced as a unit.







4. Remove the MAF assembly.







5. Disconnect the MAF sensor electrical connector.







6. Remove the nuts and separate the MAF sensor from the MAF sensor plate.

INSTALLATION
1. To install, reverse the removal procedure.

CAUTION: The grommet used to seal the engine air cleaner housing at the extension harness must be fully seated. Failure to do so will result in unmetered air entering the engine.

NOTE:
^ Use the alignment notch to correctly align the inlet side and the outlet side of the engine air cleaner.
^ When reinstalling the Mass Air Flow (MAF) sensor, make sure wires are not trapped behind MAF. Make sure electrical connector is pointing up on installation.