Operation CHARM: Car repair manuals for everyone.
Manuals through 2025 now available!

Our trusted friends have launched a new website named LEMON, which has newer manuals. It also contains all the CHARM manuals.

LEMON is the spiritual successor to CHARM, I recommend you try it!

Link: lemon-manuals.la or lemon-manuals.org.ua

(Some people have issue connecting. LEMON is investigating. For now, use Firefox or change your DNS server)

Or, hide this message: temporarily or permanently

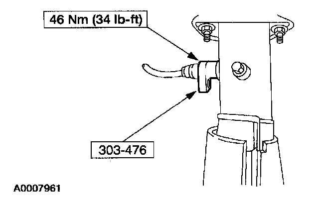
Oxygen Sensor: Service and Repair

Socket, Exhaust Gas Oxygen Sensor:






SPECIAL TOOL(S)

REMOVAL
1. Disconnect the battery ground cable.
2. Remove the engine cover.







3. Disconnect the Heated Oxygen Sensor (HO2S) electrical connector.







4. Using the special tool, remove the HO2S.

INSTALLATION
1. To install, reverse the removal procedure.