Operation CHARM: Car repair manuals for everyone.
Manuals through 2025 now available!

Our trusted friends have launched a new website named LEMON, which has newer manuals. It also contains all the CHARM manuals.

LEMON is the spiritual successor to CHARM, I recommend you try it!

Link: lemon-manuals.la or lemon-manuals.org.ua

(Some people have issue connecting. LEMON is investigating. For now, use Firefox or change your DNS server)

Or, hide this message: temporarily or permanently

Torque Specifications





Cylinder Heads

CAUTION: Make sure all coolant residue and debris are cleaned from the block surface and cylinder bore.

Position the (A) head gasket over the (B) dowel pins.
^ RH is shown; LH is similar.





Rotate the crankshaft until the crankshaft keyway points toward the top of the engine (12 o'clock).





NOTE: Do not turn the crankshaft until instructed to do so.

Position the cylinder head over the dowels and head gasket and install the cylinder head bolts loosely.
^ RH is shown; LH is similar.





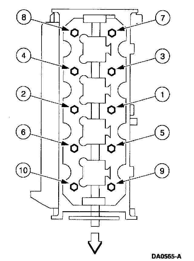
Tighten the bolts in three stages, in the sequence shown.
RH is shown; LH is similar.
^ Stage 1: Tighten to 37 - 43 Nm (27 - 32 ft. lbs.).
^ Stage 2: Tighten an additional 85 - 95 degrees.
^ Stage 3: Tighten an additional 85 - 95 degrees.





Camshaft Bearing Cap Bolts
Tighten to 10 Nm (89 in.lb).






Camshaft Sprocket
On engines equipped with bolt on sprockets, install the camshaft sprocket (2).
1 Install the bolt (1).
2 Tighten the bolt.
^ 10 bolt: Tighten in two stages.
^ Stage 1: Tighten to 40 Nm (30 ft. lbs.).
^ Stage 2: Tighten an additional 90 degrees.
^ 12 bolt: Tighten to 120 Nm (90 ft. lbs.).






Intake Manifold
Position the new intake manifold gaskets and the intake manifold, loosely install the nine bolts.





Install the thermostat and thermostat housing.
^ Loosely install the bolts.





Tighten the 11 bolts in two stages, in the sequence shown.
^ Stage 1: Tighten to 2 Nm (18 inch lbs.).
^ Stage 2: Tighten to 25 Nm (18 ft. lbs.).






LH Exhaust Manifold
Tighten to 25 Nm (18 ft.lb).






RH Exhaust Manifold
Tighten to 23-27 Nm (17-19 ft.lb).