Operation CHARM: Car repair manuals for everyone.
Manuals through 2025 now available!

Our trusted friends have launched a new website named LEMON, which has newer manuals. It also contains all the CHARM manuals.

LEMON is the spiritual successor to CHARM, I recommend you try it!

Link: lemon-manuals.la or lemon-manuals.org.ua

(Some people have issue connecting. LEMON is investigating. For now, use Firefox or change your DNS server)

Or, hide this message: temporarily or permanently

Camshaft Timing





NOTE: Ford does not provide a TDC (Top Dead Center) mark or determination procedure for this engine in this vehicle.
ALLDATA users have reported success using aftermarket tools to determine TDC on this engine.

CAUTION: To do this procedure you MUST use the special service tools. Ford does not provide timing marks or any additional information for repair or replacement of the timing chains without the special tools listed.

Special Tools:






Camshaft Timing

NOTE: For additional information not contained in this article, refer to Engine/Service and Repair.

1. Remove the valve covers.

2. Remove the lower intake manifold.

3. Remove the fuel supply manifold.

4. Remove the accessory drive belt.

5. Remove the thermostat housing.

6. Remove the roller followers.






7. Remove the nut and position the A/C manifold and tube assembly bracket aside.

8. NOTE: You must re-time the LH and RH camshafts when either camshaft is disturbed.

Turn the crankshaft one revolution clockwise.






9. Install the special tool.

Note: The special tool must be installed on the damper and should contact the engine block, this positions the engine at top dead center (TDC).






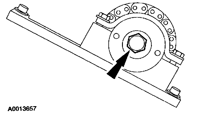
10. Using the special tool, loosen the RH camshaft sprocket bolt.

CAUTION: The right-hand camshaft sprocket bolt is a left-hand threaded bolt.






11. Position the camshaft timing slots below the centerline of the camshaft to correctly fit the special tools and install the special tools on the front of the RH cylinder head.

Note: The camshaft timing slots are off-center.






12. Install the special tools on the rear of the RH cylinder head.

Note: Leave the top two special tool clamp bolts loose.

13. Raise and support the vehicle.
14. Remove the RH wheel and tire.






15. Remove the RH lower splash splash.






16. Remove the RH camshaft tensioner and install the special tool.
17. Lower the vehicle.






18. Tighten the bolts.
a. Tighten the special tool top two clamp bolts to 10 Nm (89 inch lbs.).
b. Tighten the camshaft bolt.

CAUTION: The right-hand camshaft sprocket bolt is a left-hand threaded bolt.






19. Remove the special tool.






20. Install the RH camshaft tensioner.

Note: When using a new washer the camshaft tensioner must be torqued to 44 Nm (32 lb-ft).

21. Raise the vehicle.






22. Install the RH lower splash shield.
23. Install the RH wheel and tire.
24. Lower the vehicle.
25. Remove the special tools from the RH cylinder head.






26. Install the special tools on the front of the LH cylinder head and tighten the top two clamp bolts to 10 Nm (89 inch lbs.).






27. Loosen the LH camshaft sprocket bolt.
28. Loosen the top two clamp bolts on the special tool to allow the camshaft sprocket to rotate freely.






29. Position the camshaft timing slots below the centerline of the camshaft to correctly fit the special tools, and install the special tools on the rear of the LH cylinder head.

Note: The camshaft timing slots are off-center.






30. Remove the LH camshaft tensioner and install the special tool.






31. Tighten the bolts.
a. Tighten the special tool top two clamp bolts to 10 Nm (89 inch lbs.).
b. Tighten the camshaft bolt.






32. Remove the special tool.






33. Install the LH camshaft tensioner.

NOTE: When using a new washer the camshaft tensioner must be torqued to 44 Nm (32 lb-ft.).

34. Remove all of the special tools.






35. Install the A/C manifold and tube assembly bracket.
36. Install the roller followers.
37. Install the thermostat housing.
38. Install the accessory drive belt.
39. Install the fuel supply manifold.
40. Install the lower intake manifold.
41. Install the valve covers.