Operation CHARM: Car repair manuals for everyone.
Manuals through 2025 now available!

Our trusted friends have launched a new website named LEMON, which has newer manuals. It also contains all the CHARM manuals.

LEMON is the spiritual successor to CHARM, I recommend you try it!

Link: lemon-manuals.la or lemon-manuals.org.ua

(Some people have issue connecting. LEMON is investigating. For now, use Firefox or change your DNS server)

Or, hide this message: temporarily or permanently

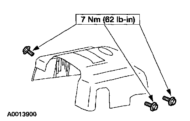
Throttle Position Sensor: Service and Repair

REMOVAL
1. Disconnect the battery ground cable.







2. Remove the bolts and the accelerator control splash shield.







3. Disconnect the Throttle Position (TP) sensor electrical connector.







4. Remove the bolts and the sensor.

INSTALLATION
1. To install, reverse the removal procedure.