Operation CHARM: Car repair manuals for everyone.
Manuals through 2025 now available!

Our trusted friends have launched a new website named LEMON, which has newer manuals. It also contains all the CHARM manuals.

LEMON is the spiritual successor to CHARM, I recommend you try it!

Link: lemon-manuals.la or lemon-manuals.org.ua

(Some people have issue connecting. LEMON is investigating. For now, use Firefox or change your DNS server)

Or, hide this message: temporarily or permanently

Heater Core: Service and Repair

Remover/Installer, Cooling Hose Clamp:






Special Tools

Removal
1. Drain the cooling system.






2. Using the special tool, disconnect the coolant hoses from the heater core.
3. Lower the vehicle.
4. Remove the floor console. Service and Repair






5. Remove the rear footwell vent air ducts.






6. Remove the footwell lower trim panel.
7. Open the glove compartment.






8. Remove the footwell vent air duct.
- Pull off the hose.

9. Close the glove compartment.






10. Remove the footwell trim.
- Remove the left-hand and right-hand retaining screws (right-hand side shown).






11. Remove the accelerator pedal.
- Disconnect the electrical connector.






12. Detach the rear steel clip.

NOTE: Take care not to damage the seat when detaching the clip.






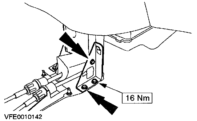
13. Remove the left-hand and right-hand in-vehicle crossbeam bracket (right-hand side shown).






14. Remove the heater core air duct housing.






15. Remove the heater core housing.






16. Remove the heater core retaining bolt.






17. Remove the heater core.

INSTALLATION
1. To install reverse the removal procedure.