Operation CHARM: Car repair manuals for everyone.
Manuals through 2025 now available!

Our trusted friends have launched a new website named LEMON, which has newer manuals. It also contains all the CHARM manuals.

LEMON is the spiritual successor to CHARM, I recommend you try it!

Link: lemon-manuals.la or lemon-manuals.org.ua

(Some people have issue connecting. LEMON is investigating. For now, use Firefox or change your DNS server)

Or, hide this message: temporarily or permanently

Ignition Switch




IGNITION SWITCH

Removal and Installation

1. Depower the supplemental restraint system (SRS).

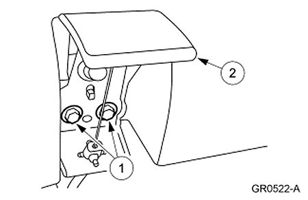
2. Detach the hood latch release handle and position aside.
1. Remove the bolts.
2. Position the hood latch release handle aside.







3. Remove the lower instrument panel steering column cover.
1. Remove the screws.
2. Remove the lower instrument panel steering column cover.







4. Remove the instrument panel steering column opening cover reinforcement.
1. Remove the bolts.
2. Remove the instrument panel steering column opening cover reinforcement.







5. Disconnect the electrical connector.
1. Loosen the bolt.
2. Disconnect the electrical connector.








6. NOTE: The ignition key should be in the OFF position.
Remove the ignition switch.
1. Remove the screws.
2. Remove the ignition switch.







7. To install, reverse the removal procedure.