Operation CHARM: Car repair manuals for everyone.
Manuals through 2025 now available!

Our trusted friends have launched a new website named LEMON, which has newer manuals. It also contains all the CHARM manuals.

LEMON is the spiritual successor to CHARM, I recommend you try it!

Link: lemon-manuals.la or lemon-manuals.org.ua

(Some people have issue connecting. LEMON is investigating. For now, use Firefox or change your DNS server)

Or, hide this message: temporarily or permanently

Installation

INSTALLATION





Special Tool(s)

1. CAUTION: During this move, to avoid damage, do not allow the transmission to get into a nose-down post/ion as this will cause the torque converter to move forward and disengage from the pump gear. The converter cover is piloted into position in the engine crankshaft by dowels in the rear of the engine block. The torque converter must rest squarely and loosely against the flywheel. This indicates that the converter pilot is not binding in the engine crankshaft.

Position and secure the transmission on the high-lift transmission jack.

2. WARNING: The torque converter is heavy. Personal injury may result if it falls out of the transmission. Secure the torque converter in the transmission.





Install the special tool.
3. Raise and position the transmission to the vehicle.
- Align the balancing marks on the converter stud and the flywheel bolt hole.





4. Install the bolts.





5. Remove the special tool.





6. Install the fluid filler tube.





7. Install the bolts.





8. Install the connector.





9. Install the connector.





10. Connect the connector.





11. Connect the connector.





12. Connect the connector.





13. Connect the connector.





14. Install the rear crossmember.
1 Position the crossmember.
2 Install the two crossmember bolts.





15. Install the bolt.





16. Install the retainer.
17. Remove the high-lift transmission jack.





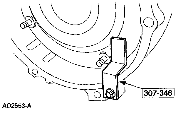
18. Install the cooler line bracket.





19. Install the fluid cooler tubes.





20. Connect the harness.





21. Install the starter
1 Install the starter.
2 Install the bolts.
3 Connect the wires.





22. Install the cap.





23. Install the ground wire.
24. Install the three-way catalytic converter.





25. Install the shift cable bracket.

26. NOTE: The manual lever must be in the OVERDRIVE position.





Slide the transmission shift linkage into the cable bracket until the tabs fully seat and connect the shift cable at the manual lever.





27. Install the four torque converter nuts.
- Rotate the crankshaft to access all the torque converter nuts.





28. Install the rubber access plug.





29. Install the transmission inspection cover.
1 Position the transmission inspection cover.
2 Install the two bolts.
3 Install the bolt for the separator plate.

30. NOTE: The output shaft and the driveshaft are a balanced assembly.





Install the driveshaft.
- Align the paint marks and position the driveshaft on the transmission.
- Position the driveshaft to the rear differential.

31. NOTE: To maintain initial driveshaft balance, align the index marks made during removal.





Install the rear driveshaft.
1 Position the driveshaft.
2 Install the four bolts.





32. If the vehicle was not equipped with an inline fluid filter, install a fluid filter service kit (XC3Z-7B155-AA). Follow the instructions supplied in the kit. If the vehicle was equipped with a inline fluid filter, install a new fluid filter (XC3Z-7B155-BA).
33. Lower the vehicle.
34. Connect the battery ground cable.
35. If equipped with air suspension, reactivate the system by turning the air suspension switch ON.
36. Fill the transmission with clean automatic transmission fluid and inspect for correct operation.