Operation CHARM: Car repair manuals for everyone.
Manuals through 2025 now available!

Our trusted friends have launched a new website named LEMON, which has newer manuals. It also contains all the CHARM manuals.

LEMON is the spiritual successor to CHARM, I recommend you try it!

Link: lemon-manuals.la or lemon-manuals.org.ua

(Some people have issue connecting. LEMON is investigating. For now, use Firefox or change your DNS server)

Or, hide this message: temporarily or permanently

Disassembly

Engine














Special Tool(s)

Disassembly

NOTE: The crankshaft rear oil seal, the oil seal slinger and the oil seal retainer plate must be removed before mounting the engine on the engine stand.





1. Remove the bolts and the flexplate.





2. Using the special tools, remove the crankshaft rear oil slinger.





3. Using the special tools, remove the crankshaft rear oil seal.





4. Remove the bolts, oil pan and oil pan gasket.
^ Clean and inspect the sealing surfaces.





5. Remove the bolts and the crankshaft rear oil seal retainer plate.
^ Clean and inspect the sealing surfaces.

6. CAUTION: Use care when lowering the engine, to prevent damage to the oil pump screen and pickup tube.

Lower the engine onto wooden blocks.





7. Remove the special tool.





8. Install the special tool.





9. Install the special tool.
10. Mount the engine on a suitable work stand.





11. Remove the special tool.





12. Remove the special tool.
13. With the engine on the engine stand, remove the engine control sensor wiring harness.





14. NOTE: RH shown, LH similar.

Remove the nuts and the two radio interference capacitors.





15. Remove the bolts and the oil pump screen and pickup tube.





16. Remove the oil pump screen and pickup tube spacer.





17. Remove the crankcase ventilation tube from the LH valve cover.





18. NOTE: The bolts are a part of the valve cover and are not removed from the valve cover.

Fully loosen the bolts and remove the LH valve cover.
^ Inspect the valve cover gasket and clean the mating surface of the cylinder head.





19. Remove the positive crankcase ventilation (PCV) valve and hose from the RH valve cover.





20. NOTE: The bolts are a part of the valve cover and are not removed from the valve cover.

Fully loosen the bolts and remove the RH valve cover.
^ Inspect the valve cover gasket, and clean the mating surface of the cylinder head.





21. Remove the bolt and the belt idler pulley.





22. Remove the water pump pulley.
1. Remove the bolts.
2. Remove the water pump pulley.





23. Remove the bolts.





24. Remove the water pump from the cylinder block.





25. Remove the crankshaft pulley bolt.
Use the special tool to remove the crankshaft pulley.





26. Use the special tool to remove the crankshaft front oil seal.





27. NOTE: Correct fastener location is essential for assembly procedure. Record fastener location.

Remove the fasteners.





28. Remove the engine front cover from the cylinder block.





29. Remove the crankshaft sensor ring from the crankshaft.





30. CAUTION: Unless otherwise instructed, at no time when the timing chains are removed and the cylinder heads are installed is the crankshaft or camshaft to be rotated. Severe piston and valve damage will occur.

Position the crankshaft with the keyway at the 12 o'clock position.





31. Install and fully tighten the special tools (2) on the camshafts.





32. Remove the timing chain tensioning system from both timing chains.
1. Remove the bolts.
2. Remove the timing chain tensioners.
3. Remove the timing chain tensioner arms.





33. CAUTION: Unless otherwise instructed, at no time when the timing chains are removed and the cylinders heads are installed is the crankshaft or camshaft to be rotated. Severe piston and valve damage will occur.

Remove the RH and LH timing chains and the crankshaft sprocket.
^ Remove the RH timing chain from the camshaft sprocket.
^ Remove the RH timing chain from the crankshaft sprocket.
^ Remove the LH timing chain from the camshaft sprocket,
^ Remove the LH timing chain and crankshaft sprocket.





34. Remove both timing chain guides.
^ Remove the bolts.
^ Remove both timing chain guides.





35. Remove the RH exhaust manifold.
1. Remove the nuts.
2. Remove the RH exhaust manifold.
3. Remove the RH exhaust manifold gasket.





36. Remove the LH exhaust manifold.
1. Remove the nuts.
2. Remove the LH exhaust manifold.
3. Remove the LH exhaust manifold gasket.
37. Clean and inspect the exhaust manifolds.





38. Remove the bolt and the oil level indicator tube.





39. Install the special tools on both ends of the cylinder head.





40. CAUTION: New cylinder head bolts must be installed. They are tighten-to-yield designed and cannot be reused.

CAUTION: Place cylinder head on a cardboard or wood surface to prevent damage to the joint face.

CAUTION: Aluminum surfaces are soft and can be scratched easily. Never place the cylinder head gasket surface, unprotected, on a bench surface.

Remove the bolts and discard.
^ RH is shown; LH is similar.
^ Remove the cylinder head.

41. CAUTION: Do not use metal scrapers, wire brushes, power abrasive discs or other abrasive means to clean the sealing surfaces. These tools cause scratches and gouges that make leak paths. Use a plastic scraper to clean all traces of the head gasket.

Discard the head gasket and clean the engine block surface.





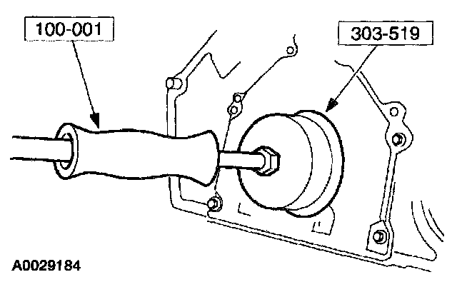
42. If required, remove the bolts, and remove the LH engine mount.





43. If required, remove the bolts, and remove the RH engine mount.





44. If required, remove the nut and bolts retaining the oil filter adapter and oil filter adapter gasket to the cylinder block.





45. Clean the oil filter adapter gasket surface at the cylinder block.





46. Remove the oil pump.
1. Remove the bolts.
2. Remove the oil pump.





47. Before removing the pistons, inspect the top of the cylinder bores. If necessary,-remove ridge or carbon deposits from each cylinder using a cylinder ridge reamer, following the manufacturer's instructions.





48. CAUTION: Verify that the connecting rods and rod caps have orientation numbers cast into them. If not, number the connecting rods and rod caps for correct orientation.

Remove the bolts and the connecting rod cap. Discard the bolts.





49. CAUTION: Do not scratch the cylinder walls or crankshaft journals with the connecting rod.

Use the special tool to push the piston through the top of the cylinder block.





50. Remove the fasteners.
1. Remove and discard the cross-mounted main cap bolts.
2. Remove the dowels.
3. Remove and discard the main bearing cap bolts.





51. Remove the five main bearing caps, the lower crankshaft main bearings and the lower thrust washer.





52. Remove the crankshaft, the upper crankshaft main bearings and the upper thrust washers from the cylinder block.