Romeo Engine
Romeo EngineCAUTION: Since the engine is not free-wheeling, timing procedures must be followed exactly or piston and valve damage may occur.
CAUTION: Timing chain procedures must be followed exactly or damage to valves and pistons will result.
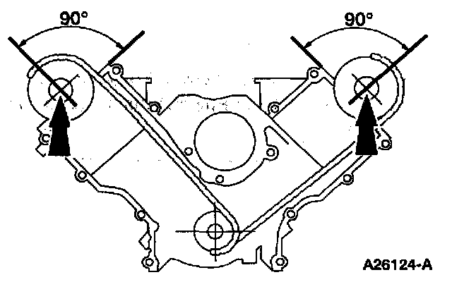
Rotate the crankshaft until both camshaft keyways are 90 degrees from the valve cover surface. Make sure the copper links line up with the dots on the camshaft sprocket.
If the copper links are not visible, mark one link on one end and one link on the other end, and use as timing marks.
Install the crankshaft sprocket, marking sure the flange faces forward.
- Install the LH (inner) timing chain on the crankshaft sprocket, aligning the copper link with the dot on the crankshaft sprocket.
- Install the LH (inner) timing chain on the camshaft sprocket, aligning the copper link with the dot on the camshaft sprocket.
- Install the RH (outer) timing chain on the crankshaft sprocket, aligning the copper link with the dot on the crankshaft sprocket.
- Install the RH (outer) timing chain on the camshaft sprocket, aligning the copper link with the dot on the camshaft sprocket.
Make sure that the (A) copper marks on the timing chain are lined up with the corresponding dots on the crankshaft sprockets and the camshaft sprockets.
Make sure that the (A) camshaft sprocket keyway is 90 degrees from the (B) valve cover mounting surface.