Operation CHARM: Car repair manuals for everyone.
Manuals through 2025 now available!

Our trusted friends have launched a new website named LEMON, which has newer manuals. It also contains all the CHARM manuals.

LEMON is the spiritual successor to CHARM, I recommend you try it!

Link: lemon-manuals.la or lemon-manuals.org.ua

(Some people have issue connecting. LEMON is investigating. For now, use Firefox or change your DNS server)

Or, hide this message: temporarily or permanently

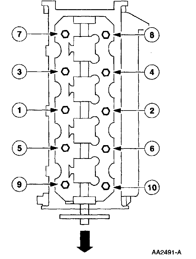
Torque

Cylinder Heads





NOTE: Make sure to tighten the bolts in sequence in three stages.
Tighten the LH bolts in the sequence shown.
^ Stage 1: Tighten to 40 Nm (30 ft. lbs.).
^ Stage 2: Tighten an additional 85-95 degrees.
^ Stage 3: Tighten an additional 85-95 degrees.





NOTE: Make sure to tighten the bolts in the following three stages.
Tighten the RH bolts in the sequence shown.
^ Stage 1: Tighten to 40 Nm (30 ft. lbs.).
^ Stage 2: Tighten an additional 85-95 degrees.
^ Stage 3: Tighten an additional 85-95 degrees.

Intake Manifold

NOTE: The thermostat at housing bolts are tightened in sequence with the intake manifold bolts. Do not tighten the thermostat housing bolts during thermostat installation.

Install the water thermostat.





Tighten the 11 bolts in two stages in the sequence shown.
^ Stage 1: Tighten to 2 Nm (18 inch lbs.).
^ Stage 2: Tighten to 10 Nm (89 inch lbs.).


Throttle Body
Install the throttle body adapter and the four bolts.
Tighten the bolts in two stages.
^ Stage 1: Tighten to 10 Nm (89 inch lbs.).
^ Stage 2: Tighten an additional 90 degrees.

Additional Torque Specifications





Part 1 of 3





Part 2 of 3





Part 3 of 3