Ignition System
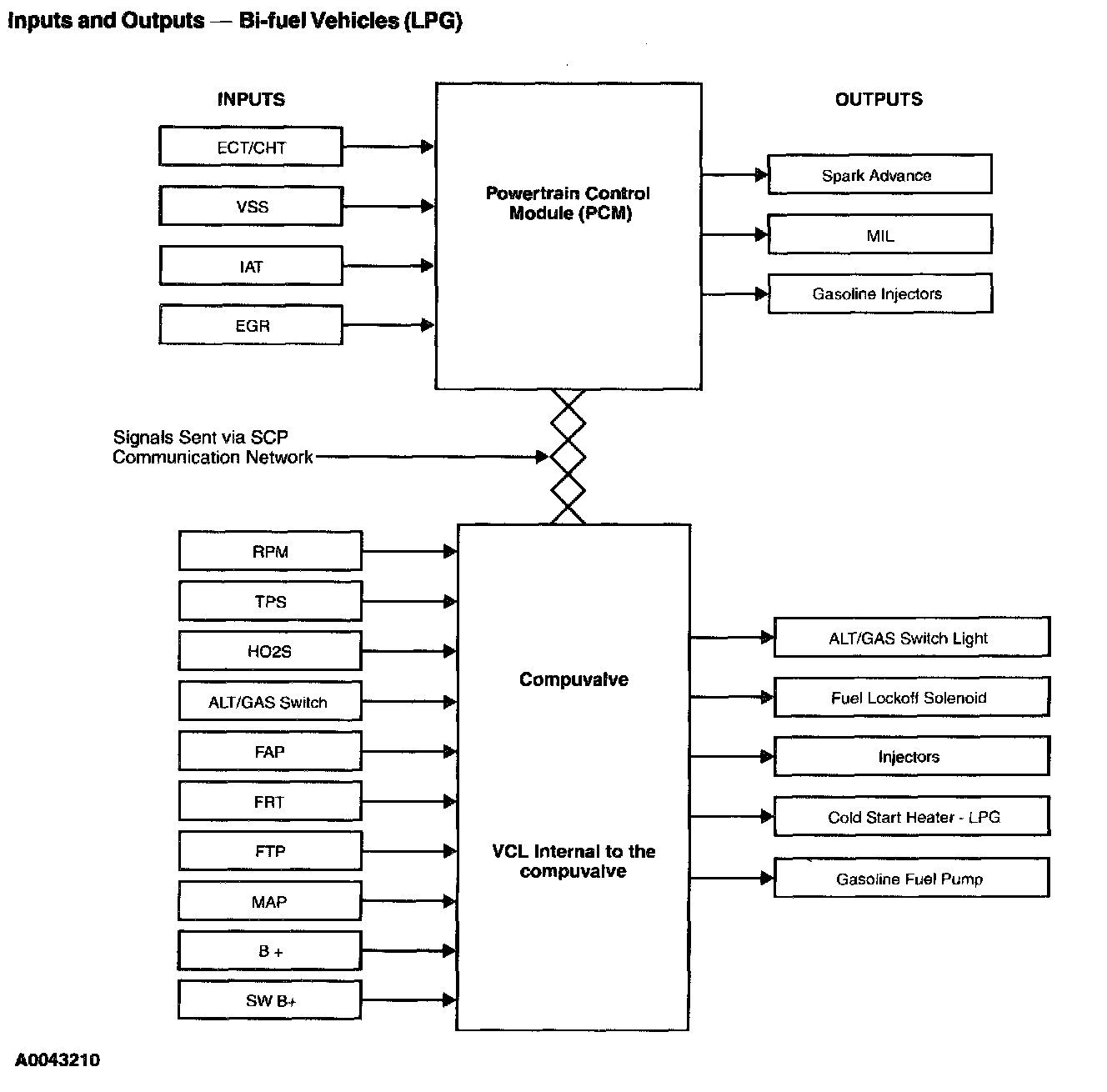
Inputs And Outputs - Bi-fuel Vehicles (LPG):
Ignition and Timing Systems
Alternative fuel Systems are gaseous fuels systems that require a higher spark plug firing voltage to ignite the fuel. This puts a higher load on the vehicle ignition system. A marginally operating secondary ignition system may exhibit problems when running on Liquefied Petroleum Gas (LPG) or Compressed Natural Gas (CNG), such as backfires or stalling, even though no problems exist while running on gasoline.
CNG or LPG burns slower than gasoline under normal operating conditions. To compensate, the Gaseous Fuel Injection (GFI) system advances the ignition timing over the Gasoline System timing, when required, to optimize driveability and emissions of the vehicle. The system advances the Gasoline System spark timing by 0 to 15 degrees. The system may or may not advance spark timing at idle, depending on calibration. This adjustment is accomplished by a request from the compuvalve to the Powertrain Control Module (PCM).