Operation CHARM: Car repair manuals for everyone.
Manuals through 2025 now available!

Our trusted friends have launched a new website named LEMON, which has newer manuals. It also contains all the CHARM manuals.

LEMON is the spiritual successor to CHARM, I recommend you try it!

Link: lemon-manuals.la or lemon-manuals.org.ua

(Some people have issue connecting. LEMON is investigating. For now, use Firefox or change your DNS server)

Or, hide this message: temporarily or permanently

Installation

INSTALLATION
Transaxle (17 214 0)





Installation

NOTE: The location of the engine mountings and the engine support insulators are given looking from the automatic transaxle to the engine.

NOTE: Only install new self-locking nuts.

1. Make sure that the torque converter is installed correctly.





2. NOTE: Lubricate the torque converter pilot hub with multipurpose grease.

Check the installation depth of the torque converter.
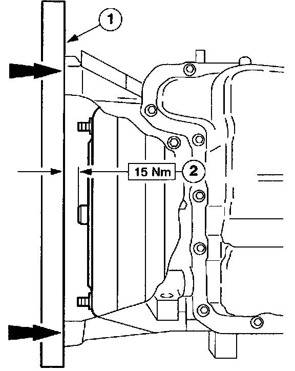
1. Lay a steel straightedge on the automatic transaxle flange.
2. Check the installation depth between the transaxle flange and the torque converter centering spigot for the correct clearance.





3. Remove the special tool.
4. Raise and support the vehicle.
5. Using a retaining strap secure the transaxle on a transmission jack.

6. NOTE: Make sure that the dowel pins are installed in the engine block prior to installing the transaxle.

Move the transaxle into position.





7. NOTE: The location of the different length bolts.

Install the left-hand flange bolts.





8. Install the torque converter to the engine drive plate (four nuts).
9. Remove the retaining strap and wooden block from the transaxle.





10. Install the torque converter cover (if equipped).





11. Install the right-hand flange bolt.





12. Install the fluid filler pipe.





13. Install the starter motor.
- Insert the three bolts (two bolts shown).





14. Connect the starter motor electrical connectors.
15. Lower the vehicle.





16. NOTE: The location of the different length bolts.

Install the two upper flange bolts.





17. Install the engine rear mounting bracket.
18. Using the special tool, raise the engine and transaxle assembly slightly.





19. Install the engine rear mounting.





20. Remove the special tools.
21. Raise and support the vehicle.





22. CAUTION: The inner joint must not be bent at more than 18 degrees; the outer joint must not be bent at more than 45 degrees.

NOTE: Install new nuts and a new center bearing cap.

Install the right-hand front drive halfshaft together with the intermediate shaft.





23. CAUTION: The inner joint must not be bent at more than 18 degrees; the outer joint must not be bent at more than 45 degrees.

NOTE: Install a new snap ring.

Install a left-hand front drive halfshaft (shown with subframe removed).





24. Install the lower suspension arm.
1. Attach the suspension arm bolt joint.
2. Install the bolt.





25. Install the left-hand tie-rod end.





26. Install the engine right-hand support insulator.





27. Connect the Output Speed Speed (OSS) sensor electrical connector.





28. CAUTION: Do not loosen the connecting fitting from the transaxle housing.

NOTE: Location marks.

Install the fluid cooler pipes.





29. Install the exhaust pipe and the exhaust pipe bracket.
- Install a new gasket and new nuts.
- Coat the studs with anti seize grease.
30. Install the left-hand front wheel and tire.





31. Install the fluid filler pipe/selector lever cable bracket.





32. Connect the electrical connectors and install the selector lever cable to the automatic transaxle selector lever.
1. Transmission Range (TR) sensor.
2. Automatic transaxle.





33. Connect the vacuum hoses.
1. Evaporative Emission (EVAP) system.
2. Brake servo.
3. Delta Pressure Feedback Electronic (DPFE) system.
4. Exhaust Gas Recirculation (EGR) valve.





34. Connect the Turbine Shaft Speed (TSS) sensor electrical connector.





35. NOTE: The resonator is plugged into the bracket.

Install the air cleaner intake pipe with the resonator.





36. Install the intake tube.





37. Install the air cleaner housing.
- Press the air cleaner housing into the rubber bushes.
1. Install the Mass Air Flow (MAP) sensor electrical connector.
2. Install the crankcase ventilation hose.
3. Connect the air cleaner outlet hose.





38. NOTE: Use an Allen key to prevent the piston rod from rotating.

Tighten the suspension strut nuts on both





39. Install the battery tray.
1. Attach the wiring harness.
2. Install in the bolts.
3. Connect and secure the electrical connector.
40. Install the battery.
41. Check the fluid levels and correct as necessary.
42. Check the routing of the vacuum hoses and wiring and secure them with cable ties.
43. Enter the radio keycode.
44. Reprogram the preset radio stations.
45. Reset the clock.
46. Fill the engine coolant system.
47. Fill the transaxle with automatic transmission fluid.

48. NOTE: When the battery has been disconnected and reconnected, some abnormal drive symptoms may occur while the vehicle relearns its adaptive strategy. The vehicle may need to be driven 16 km (10 miles) or more to relearn the strategy.

Finishing operations:
- Check fluid level after the road test and correct as necessary.
- Check the engine and cooling system for leaks (visual inspection).