Operation CHARM: Car repair manuals for everyone.
Manuals through 2025 now available!

Our trusted friends have launched a new website named LEMON, which has newer manuals. It also contains all the CHARM manuals.

LEMON is the spiritual successor to CHARM, I recommend you try it!

Link: lemon-manuals.la or lemon-manuals.org.ua

(Some people have issue connecting. LEMON is investigating. For now, use Firefox or change your DNS server)

Or, hide this message: temporarily or permanently

Intake Manifold: Service and Repair

Intake Manifold

Removal





1. Remove the accelerator control snow shield.
2. Remove the air cleaner outlet tube.





3. Disconnect the throttle cables from the intake manifold.
1. Disconnect the accelerator cable and speed control cable (if so equipped) from the throttle linkage.
2. Disconnect the accelerator cable and speed control cable (if so equipped) from the mounting bracket.





4. Disconnect the Throttle Position (TP) sensor electrical connector.





5. Disconnect the Manifold Absolute Pressure (MAP) sensor electrical connector.





6. Disconnect the vacuum hose and the Idle Air Control (IAC) valve electrical connector.





7. Disconnect the engine vacuum harness and brake booster hose, and the crankcase breather hose.





8. Disconnect the engine wiring harness and position it out of the way.





9. Remove the Exhaust Gas Recirculation (EGR) tube bracket bolt.





10. Disconnect the swirl control valve electrical connector.





11. Disconnect the swirl control valve monitor electrical connector.





12. Disconnect the fuel line from the clip.





13. Remove the bolts from the EGR tube flange.





14. Detach the 42-pin electrical connector from the bracket and disconnect the vapor purge hose.





15. Disconnect the engine Knock Sensor (KS) electrical connector and disconnect the connector from the intake manifold.
16. Remove the wiring harness pushpin from the bottom of the intake manifold.





17. Disconnect the fuel manifold vacuum hose.

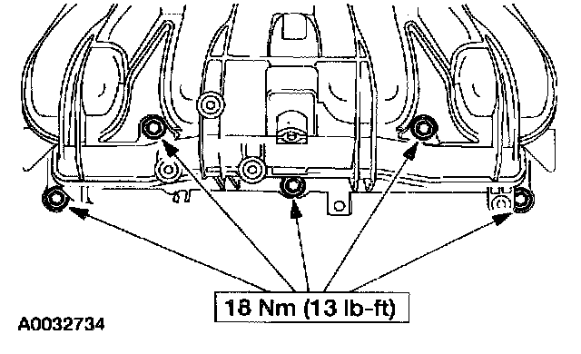
18. NOTE: Engine removed for clarity.





Remove the five bolts and the intake manifold.

Installation





1. Inspect and install new intake manifold gaskets, if necessary.

2. NOTE: Engine removed for clarity.

Intake Manifold Bolt Tightening:





Install the intake manifold and the five mounting bolts.





3. Connect the fuel manifold vacuum hose.
4. Connect the wiring pushpin to the bottom of the intake manifold.





5. Connect the engine KS connector to the intake manifold and connect the electrical connector.





6. Attach the 42-pin electrical connector to the bracket and connect the vapor purge hose.





7. Install the EGR flange mounting bolts.





8. Connect the fuel line into the clip.





9. Connect the swirl control valve electrical connector.





10. Connect the swirl control valve vacuum solenoid electrical connector.





11. Install the EGR tube bracket bolt.





12. Position the engine wiring harness and connect the pushpins.





13. Connect the engine vacuum harness, brake booster hose and the crankcase breather hose.





14. Connect the vapor purge hose and the IAC valve electrical connector.





15. Connect the MAP sensor electrical connector.





16. Connect the TP sensor electrical connector.





17. Connect the throttle cables to the intake manifold and the throttle body.
1. Connect the accelerator cable and speed control cable (if so equipped) into the mounting bracket.
2. Connect the accelerator cable and speed control cable (if so equipped) onto the throttle linkage.
18. Install the air cleaner outlet tube.





19. Install the accelerator control snow shield.