Operation CHARM: Car repair manuals for everyone.
Manuals through 2025 now available!

Our trusted friends have launched a new website named LEMON, which has newer manuals. It also contains all the CHARM manuals.

LEMON is the spiritual successor to CHARM, I recommend you try it!

Link: lemon-manuals.la or lemon-manuals.org.ua

(Some people have issue connecting. LEMON is investigating. For now, use Firefox or change your DNS server)

Or, hide this message: temporarily or permanently

Front Door Window Glass: Service and Repair

Heavy Duty Riverter:






SPECIAL TOOL(S)

REMOVAL

NOTE: Position the window glass half-way up to gain access to the rivets.

1. Remove the front door trim panel.






2. Remove the watershield.







3. Remove the window glass rear run channel.
1 Remove the bolt.
2 Remove the window glass rear run channel.







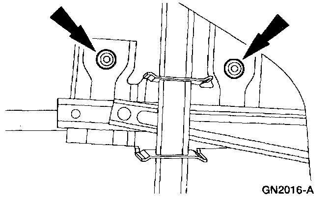
4. Remove the window glass rivets.

NOTE:
^ Support window glass before removing the rivets.
^ To remove the rivets, use a drift punch to remove the steel centers and a 6 mm (1/4 in) diameter drill bit to remove the rivets.







5. Remove the front door window glass through the window opening.

INSTALLATION







1. To install, reverse the removal procedure.
^ Use Heavy Duty Riveter to install the new rivets.