Operation CHARM: Car repair manuals for everyone.
Manuals through 2025 now available!

Our trusted friends have launched a new website named LEMON, which has newer manuals. It also contains all the CHARM manuals.

LEMON is the spiritual successor to CHARM, I recommend you try it!

Link: lemon-manuals.la or lemon-manuals.org.ua

(Some people have issue connecting. LEMON is investigating. For now, use Firefox or change your DNS server)

Or, hide this message: temporarily or permanently

Front Fender: Service and Repair

FENDER

Removal and Installation
1. Remove the front bumper.
2. Remove the parking lamp assembly.
3. If equipped, remove the wheel splash guard.







4. CAUTION:
- Remove the electrical connector locators from the splash shield prior to removal.
- On the RH splash shield, disconnect the vacuum lines from the vacuum storage reservoir.


Remove the splash shield.
1. Remove the screws.
2. Remove the pushpin.
3. Remove the bolts.
4. Remove the splash shield.







5. Remove the front fender cowl side sound absorber.







6. Remove the lower front fender to rocker panel bolt.
- If equipped, remove and retain the front fender spacer(s) for installation.







7. Open the front door and remove the front fender bolt.
8. Remove the radiator grille opening panel.







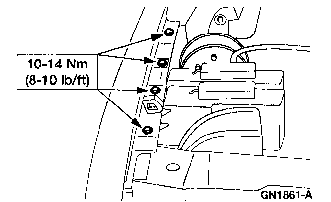
9. Remove the front fender to radiator support brace bolt.







10. Position the radiator grille opening panel reinforcement forward.
1. Remove the four bolts.
2. Position the radiator grille opening panel reinforcement forward.







11. If equipped, on the RH front fender, position the speed control servo aside.
1. Remove the bolt.
2. Position the speed control servo aside.







12. Remove the front fender.
1. Remove the bolts.
2. Remove the front fender.

13. To install, reverse the removal procedure.