Operation CHARM: Car repair manuals for everyone.
Manuals through 2025 now available!

Our trusted friends have launched a new website named LEMON, which has newer manuals. It also contains all the CHARM manuals.

LEMON is the spiritual successor to CHARM, I recommend you try it!

Link: lemon-manuals.la or lemon-manuals.org.ua

(Some people have issue connecting. LEMON is investigating. For now, use Firefox or change your DNS server)

Or, hide this message: temporarily or permanently

Front Door Window Regulator: Service and Repair

Heavy Duty Riverter:






SPECIAL TOOL(S)

REMOVAL
1. Remove the door trim panel.







2. Remove the watershield.







3. Support the window glass.







4. If equipped, disconnect the power window motor electrical connector.







5. Loosen the center door glass run retainer.
^ Remove the top and bottom center door glass run retainer nuts.







6. Remove the window regulator rivets.
1 Remove the steel centers.
2 Remove the rivets.

NOTE:
^ To remove the rivets, use a drift punch to remove the steel centers and a 6.35 mm (1/4 in) diameter drill bit to remove the rivets.
^ The power window regulator has four rivets; the manual has three.







7. Remove the window regulator.







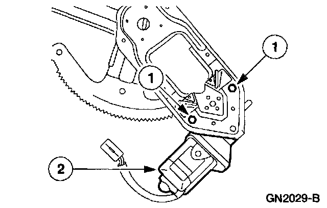
8. If necessary, remove the window glass motor.
1 Remove the bolts.
2 Remove the motor.

WARNING: PRIOR TO THE POWER WINDOW MOTOR REMOVAL, ENSURE THE REGULATOR ARMS ARE IN A FIXED POSITION TO PREVENT COUNTERBALANCE SPRING UNWIND. FAILURE TO PLACE THE REGULATOR ARMS IN A FIXED POSITION CAN CAUSE THE SPRING TO SUDDENLY RELEASE RESULTING IN PERSONAL INJURY.

INSTALLATION












1. To install, reverse the removal procedure.
^ Use Heavy Duty Riveter to install the new rivets.