Operation CHARM: Car repair manuals for everyone.
Manuals through 2025 now available!

Our trusted friends have launched a new website named LEMON, which has newer manuals. It also contains all the CHARM manuals.

LEMON is the spiritual successor to CHARM, I recommend you try it!

Link: lemon-manuals.la or lemon-manuals.org.ua

(Some people have issue connecting. LEMON is investigating. For now, use Firefox or change your DNS server)

Or, hide this message: temporarily or permanently

Windshield: Service and Repair






SPECIAL TOOL(S)

REMOVAL

WARNING: TO PREVENT GLASS SPLINTERS FROM ENTERING THE EYES OR CUTTING THE HANDS, WEAR SAFETY GLASSES AND HEAVY GLOVES WHEN CUTTING THE GLASS FROM THE VEHICLE.







1. Remove the pivot arms.
1 Pull up on the pivot arm.
2 Pull the retaining tab upwards.
3 Remove the wiper arms.







2. If equipped, remove the windshield garnish moulding assist handle bolt covers.







3. If equipped, remove the windshield garnish moulding assist handles.
1 Remove the bolts.
2 Remove the handles.







4. Remove the windshield side garnish mouldings.







5. Remove the sun visors.
1 Remove the screws.
2 Remove the visors.







6. Remove the sun visor clips.
1 Remove the screws.
2 Remove the clips.

7. Lower the front portion of the headliner.
8. Remove the interior rear view mirror.
9. Using a soft brush or vacuum, remove any dirt or foreign material from the pinch weld area.







10. Using the special tool, cut the urethane adhesive from the windshield glass starting at the top center and work toward the bottom corners.

NOTE: Lubricate the urethane bond with water to aid the special tool when cutting the urethane seal.







11. Using the special tool, distance the windshield glass from the body.







12. Using the special tool, cut the remaining Urethane Adhesive and remove the windshield glass.
13. Using a soft brush or vacuum, remove any dirt or foreign material from the pinch weld area.

INSTALLATION

CAUTION: After installing the urethane installed glass, the vehicle should not be driven until the urethane has cured. The curing times at temperatures above 13°C (55°F) and relative humidity above 50% is 12-24 hours (refer to Essex Drive Away Chart for cure times, as temperatures and humidity vary). Inadequate curing of the urethane may adversely affect the strength of the urethane bond.

1. Dry fit the windshield glass and center it on the setting blocks (if equipped). Make alignment marks with tape or non-staining grease pencil on both glass and vehicle body.







2. Trim the remaining urethane on the pinch weld.
^ The existing urethane surface should be smooth and free from cuts and contamination.

CAUTION: Care must be taken to avoid scratching the pinch weld.

3. Use a wool applicator to apply Urethane Metal Primer Essex U-413 meeting Ford specification WSB-M2G234-C to any exposed metal on the pinch weld. Allow six to ten minutes to dry.
4. If reinstalling original windshield glass, remove excess urethane from the windshield glass.
5. Clean the inside of the glass surface with an alcohol-free cleaner making sure the ceramic area is clean.
6. Apply Urethane Glass Prep Essex U-401 meeting Ford specification WSB-M2G314-B twice around the glass surface to be urethaned.

NOTE:
^ Wipe off the Urethane Glass Prep immediately after each application because it flash dries.
^ Apply with deliberate strokes making sure not to overlap the applied area.

7. Apply Glass Primer Essex U-402 to the same area that was in the previous step. Allow five minutes to dry.







8. Cut the urethane applicator tip to specification.







9. Apply a bead of Urethane Adhesive Essex U-216 or Essex 400-HV meeting Ford specification WSB-M2G316B to the pinch weld.

CAUTION: If the vehicle is to be driven within 24 hours of application, Urethane Adhesive Essex U-216 must be used due to its one-hour cure time.







10. Position the windshield glass, aligning the marks made previously.

CAUTION: Open a window to prevent the windshield glass from being pushed out by air pressure if a door is closed.

11. Remove any excess urethane adhesive from the outside surface of the windshield glass.
12. Check the installation for air and water leaks through the urethane bond and add urethane adhesive where needed.







13. Install the windshield side garnish mouldings.
14. Install the inside rear view mirror.







15. Install the sun visor clips.
1 Install the clips.
2 Install the screws.







16. Install the sun visors.
1 Install the visors.
2 Install the screws.







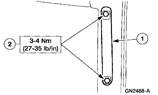
17. If equipped, install the windshield garnish moulding assist handles.
1 Install the handles.
2 Install the bolts.







18. If equipped, install the windshield garnish moulding assist handle bolt covers.







19. Install the pivot arms.
1 Install the wiper arms.
2 Push the retaining tab downwards.