Operation CHARM: Car repair manuals for everyone.
Manuals through 2025 now available!

Our trusted friends have launched a new website named LEMON, which has newer manuals. It also contains all the CHARM manuals.

LEMON is the spiritual successor to CHARM, I recommend you try it!

Link: lemon-manuals.la or lemon-manuals.org.ua

(Some people have issue connecting. LEMON is investigating. For now, use Firefox or change your DNS server)

Or, hide this message: temporarily or permanently

Rear Subframe: Service and Repair

SUBFRAME - REAR

Removal

NOTE: If a new rear subframe is to be installed, the differential and halfshafts must be removed prior to removal of the rear subframe. For all other procedures, the differential, halfshafts and rear subframe are to be removed as an assembly.

All
1. Drain the fuel tank.
2. Remove the rear wheel and tire assemblies.

Installing a new rear subframe only
3. Remove the axle housing.

Removing rear subframe assembly (differential and halfshafts attached)
4. Remove the muffler and rear heat shield.







5. CAUTION: The differential companion flange bolts, nuts and washers must be removed as matched pairs and installed in the original location. The system balance add-on nuts must be installed in the original location.

NOTE: Make sure to disconnect the flexible coupling only from the differential companion flange.

Using different color paint markers, place index matchmarks on the differential companion flange, driveshaft flexible coupling and the differential companion flange bolts, nuts, washers and system balance add-on nuts so the driveshaft and differential may be realigned during installation.







6. Remove the flex coupling bolts, nuts and washers.
- If equipped, remove the balance nuts prior to the removal of the flex coupling nuts.







7. Support the driveshaft at the center and rear.







8. NOTE:
- There are shims between the center bearing mounting bracket and the body.
- The shims must be installed in the original location.

Remove the center bearing bracket bolts and the shims.







9. Slide the rear driveshaft to the full forward position.

All







10. Disconnect the two anti-lock brake sensor electrical connectors.







11. Disconnect the two rear parking brake cables.







12. Disconnect the two parking brake cables from the junction bracket located to the rear of the fuel tank.







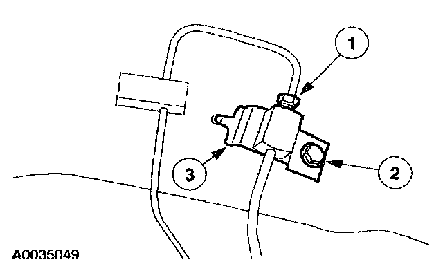
13. Disconnect the two rear brake lines.
1 Disconnect the brake line.
2 Remove the bolt.
3 Position the brake line and bracket aside.







14. Remove and discard the two lower rear shock mount bolts.







15. Paint or mark the position of the subframe to the body for assembly reference.







16. CAUTION: Make sure to remove any residual fuel from the fuel filler hose prior to removal to avoid potential spillage.

Loosen the clamp and remove the fuel filler hose from the fuel tank.







17. Support the vehicle with jack stands at the engine crossmember.







18. WARNING: Make sure the rear subframe is secured to the lift table. Failure to follow these instructions may result in personal injury.

Position the lift table under the rear subframe and remove the rear subframe bolts.







19. NOTE: Make sure to clear the fuel filler tube and the differential pinion stem during the subframe removal.

Lower the rear subframe.

Installation

All







1. NOTE: Make sure the subframe clears the fuel filler tube and that the differential pinion stem aligns with the driveshaft.

Raise the subframe into contact with the body and hand-start the rear subframe bolts.

2. Align the location marks.







3. Tighten the rear subframe bolts.

Installing a new rear subframe only
4. Install the axle housing.

All







5. Install the two new lower rear shock mount bolts.







6. Connect the LH and RH rear brake lines.
1 Position the brake line bracket.
2 Install the bolt.
3 Connect the rear brake line.







7. Connect the two parking brake cables to the junction bracket located to the rear of the fuel tank.







8. Connect the two rear parking brake cables.







9. Connect the two rear anti-lock brake sensor electrical connectors.







10. NOTE: Install one gram (0.04 ounce) of Premium Long Life Grease, XG-1-K or equivalent meeting Ford specification ESA-MlC75-B, in the alignment bushing prior to installation.

Slide the driveshaft rearward until the flexible coupling engages with the differential companion flange.







11. NOTE: Make sure to install the shims between the center bearing bracket and the floor pan.

Install the shims in their original position and loosely install the center bearing bracket bolts.







12. NOTE:
- Align the driveshaft index matchmarks.
- Make sure to match the bolts, washers, attaching nuts and balance nuts (if equipped) to their original locations.

Install the flex coupling bolts, attaching nuts and washers.
- If equipped, install the balance nut(s).







13. NOTE:
- Tighten the bolts using hand tools only.
- Avoid twisting the center bearing bracket when tightening.

Tighten the center bearing bracket bolts evenly.

14. Install the rear heat shield and muffler exhaust system.







15. Install the fuel filler hose and tighten the clamp.
16. Install the rear wheel and tire assemblies.
17. Bleed the brake system.
18. Refill the fuel tank.
19. Check and adjust rear alignment.
20. Test drive the vehicle. If any vibration is present, refer to Vehicle/Testing and Inspection.