Operation CHARM: Car repair manuals for everyone.
Manuals through 2025 now available!

Our trusted friends have launched a new website named LEMON, which has newer manuals. It also contains all the CHARM manuals.

LEMON is the spiritual successor to CHARM, I recommend you try it!

Link: lemon-manuals.la or lemon-manuals.org.ua

(Some people have issue connecting. LEMON is investigating. For now, use Firefox or change your DNS server)

Or, hide this message: temporarily or permanently

Seats: Service and Repair: General Procedures

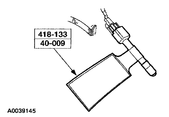
Special Tool(s):






SPECIAL TOOL(S)

DEACTIVATION

WARNING:
^ ALWAYS WEAR SAFETY GLASSES WHEN REPAIRING AN AIR BAG SUPPLEMENTAL RESTRAINT SYSTEM (SRS) VEHICLE AND WHEN HANDLING AN AIR BAG MODULE. THIS WILL REDUCE THE RISK OF INJURY IN THE EVENT OF AN ACCIDENTAL DEPLOYMENT.
^ THE SAFETY BELT BUCKLE PRETENSIONER AND SAFETY BELT RETRACTOR PRETENSIONER ARE PYROTECHNIC DEVICES. ALWAYS WEAR SAFETY GLASSES WHEN REPAIRING AN AIR BAG-EQUIPPED VEHICLE AND WHEN HANDLING A SAFETY BELT BUCKLE PRETENSIONER OR SAFETY BELT RETRACTOR PRETENSIONER.
^ AFTER DEPLOYMENT, THE AIR BAG SURFACE CAN CONTAIN DEPOSITS OF SODIUM HYDROXIDE, A PRODUCT OF THE GAS GENERANT COMBUSTION THAT IS IRRITATING TO THE SKIN. WASH YOUR HANDS WITH SOAP AND WATER AFTERWARDS.
^ NEVER PROBE THE CONNECTORS ON THE AIR BAG MODULE. DOING SO CAN RESULT IN AIR BAG DEPLOYMENT, WHICH CAN RESULT IN PERSONAL INJURY.
^ THE SAFETY BELT BUCKLE PRETENSIONER AND SAFETY BELT RETRACTOR PRETENSIONER ARE PYROTECHNIC DEVICES. NEVER PROBE A PRETENSIONER ELECTRICAL CONNECTOR. DOING SO COULD RESULT IN PRETENSIONER OR AIR BAG DEPLOYMENT AND COULD RESULT IN PERSONAL INJURY.
^ AIR BAG MODULES WITH DISCOLORED OR DAMAGED TRIM COVERS MUST BE INSTALLED NEW, NOT REPAINTED.
^ VEHICLE SENSOR ORIENTATION IS CRITICAL FOR PROPER SYSTEM OPERATION. IF A VEHICLE EQUIPPED WITH AN AIR BAG SUPPLEMENTAL RESTRAINT SYSTEM (SRS) IS INVOLVED IN A COLLISION, INSPECT THE SENSOR MOUNTING BRACKET AND WIRING PIGTAIL FOR DEFORMATION. REPLACE AND PROPERLY POSITION THE SENSOR OR ANY OTHER DAMAGED SUPPLEMENTAL RESTRAINT SYSTEM (SRS) COMPONENTS WHETHER OR NOT THE AIR BAG IS DEPLOYED.
^ THE RESTRAINT SYSTEM DIAGNOSTIC TOOL IS FOR RESTRAINT SYSTEM SERVICE ONLY. REMOVE FROM VEHICLE PRIOR TO ROAD USE. FAILURE TO REMOVE COULD RESULT IN INJURY AND POSSIBLE VIOLATION OF VEHICLE SAFETY STANDARDS.


NOTE:
^ If a seat equipped with a seat mounted side airbag and/or a safety belt pretensioner system is being serviced the airbag system must be deactivated.
^ Restraint system diagnostic tools MUST be installed under the seats in the side airbag and safety belt pretensioner (if equipped) to floor connectors.
^ Diagnostics or repairs are not to be performed on a side airbag system and/or a safety belt pretensioner (if equipped) system with the Seats in the vehicle. Prior to attempting to diagnose/repair the side airbag system and/or a safety belt pretensioner (if equipped) system the seats must be removed from the vehicle and the restraint system diagnostic tools must be installed in the side airbag and the safety belt pretensioner (if equipped) connectors at the floor connectors. The restraint system diagnostic tools must be removed prior to operating the vehicle over the road.
^ Diagnostics may be performed on seat systems other than the side airbag or the safety belt pretensioner (if equipped) system (lumbar, climate controlled, heated, power seat track) with the seat installed in the vehicle as long as the restraint system diagnostic tools are installed under the seats in the side airbag and safety belt pretensioner to floor connectors.
^ After diagnosing/repairing a seat system the restraint system diagnostic tools must be removed before operating the vehicle over the road.
^ Repair is made by installing a new part only. If the new part does not correct the condition, install the original part and perform the diagnostic procedure again.

1. Disconnect the battery ground cable and wait at least one minute.

WARNING: TO AVOID ACCIDENTAL DEPLOYMENT AND POSSIBLE PERSONAL INJURY, THE BACKUP POWER SUPPLY MUST BE DEPLETED BEFORE REPAIRING OR REPLACING ANY FRONT OR SIDE AIR BAG SUPPLEMENTAL RESTRAINT SYSTEM (SRS) COMPONENTS AND BEFORE SERVICING, REPLACING, ADJUSTING OR STRIKING COMPONENTS NEAR THE FRONT OR SIDE AIR BAG SENSORS, SUCH AS DOORS, INSTRUMENT PANEL, CONSOLE, DOOR LATCHES, STRIKERS, SEATS AND HOOD LATCHES.

PLEASE REFER TO COMPONENT OR SYSTEM TO DETERMINE LOCATION OF THE FRONT AIR BAG SENSORS.

THE SIDE IMPACT SENSORS ARE LOCATED AT OR NEAR THE BASE OF THE B-PILLAR.

TO DEPLETE THE BACKUP POWER SUPPLY ENERGY, DISCONNECT THE BATTERY GROUND CABLE AND WAIT AT LEAST ONE MINUTE. BE SURE TO DISCONNECT AUXILIARY BATTERIES AND POWER SUPPLIES (IF EQUIPPED).








2. Remove the two pin-type retainers. Pull out on the lower steering column opening finish panel enough to access the electrical connectors.







3. Remove the lower steering column opening finish panel.
1 Disconnect the electrical connector.
2 Remove the lower steering column opening finish panel.







4. Remove the driver side insulator.
1 Remove the pin-type retainers and position the insulator down from the instrument panel.
2 Remove the light socket (not shown).
3 Remove the driver side insulator.







5. Remove the screws. Separate the hood latch release cable and handle assembly from the steering column opening reinforcement.







6. Remove the screw and the heater duct.







7. Loosen the two driver side instrument panel tunnel brace bolts.
^ Position the carpet aside to gain access to the bolts.







8. Remove the screws and the steering column opening reinforcement.







9. Disconnect the clockspring electrical connector at the base of the steering column.







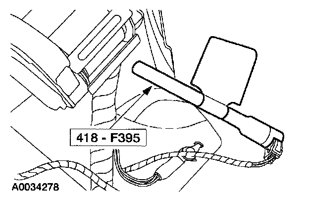
10. Attach the restraint system diagnostic tool to the vehicle harness side of the clockspring electrical connector.
11. Remove the glove compartment and door.







12. The illustration shows the vicinity in which the passenger air bag electrical connector is located.
Reach into the glove box opening toward the center of the instrument panel, over the top of the cross-car beam to locate the passenger air bag module electrical connector.

NOTE: The passenger air bag electrical connector is not visible due to its mounting position in the instrument panel.







13. This is a blind operation due to the passenger air bag module electrical connector mounting location.
Disconnect the passenger air bag module electrical connector (this is a blind operation)
1 Slide and disengage the passenger air bag module electrical connector locking clip.
2 Push in on the two release tabs and disconnect the passenger air bag module electrical connector.

NOTE: The passenger air bag module is shown with instrument panel removed for clarity.







14. Attach the restraint system diagnostic tool to the vehicle harness side of the passenger air bag electrical connector.
15. Connect the battery ground cable.
16. Move and tilt the front seats to their highest and most forward position.
17. Disconnect the battery ground cable and wait at least one minute.

WARNING: TO AVOID ACCIDENTAL DEPLOYMENT AND POSSIBLE PERSONAL INJURY, THE BACKUP POWER SUPPLY MUST BE DEPLETED BEFORE REPAIRING OR REPLACING ANY FRONT OR SIDE AIR BAG SUPPLEMENTAL RESTRAINT SYSTEM (SRS) COMPONENTS AND BEFORE SERVICING, REPLACING, ADJUSTING OR STRIKING COMPONENTS NEAR THE FRONT OR SIDE AIR BAG SENSORS, SUCH AS DOORS, INSTRUMENT PANEL, CONSOLE, DOOR LATCHES, STRIKERS, SEATS AND HOOD LATCHES.

PLEASE REFER TO COMPONENT OR SYSTEM TO DETERMINE LOCATION OF THE FRONT AIR BAG SENSORS.

THE SIDE IMPACT SENSORS ARE LOCATED AT OR NEAR THE BASE OF THE B-PILLAR.

TO DEPLETE THE BACKUP POWER SUPPLY ENERGY, DISCONNECT THE BATTERY GROUND CABLE AND WAIT AT LEAST ONE MINUTE. BE SURE TO DISCONNECT AUXILIARY BATTERIES AND POWER SUPPLIES (IF EQUIPPED).








18. From under the passenger seat, release the tab and disconnect the passenger seat side air bag electrical connector.







19. Attach the restraint system diagnostic tool to the passenger seat side air bag floor electrical connector.







20. Remove the passenger side door scuff plate and weatherstripping.







21. Remove the safety belt from the passenger seat guide.







22. Separate the passenger side rear trim panel.
1 Pull out to release the retainers and remove the speaker grille.
2 Remove the snap screws.
3 Pull out to release the retaining clips and separate the passenger side rear trim panel.







23. Disconnect the passenger safety belt retractor pretensioner electrical connector.
1 Slide and disengage the passenger safety belt retractor electrical connector locking clip.
2 Pushing in on the two release tabs, disconnect the passenger safety belt retractor electrical connector.

NOTE: Pulling the safety belt webbing out of the retractor, can aid in releasing the lower safety belt retractor pretensioner electrical connector retaining tab.







24. Attach the restraint system diagnostic tool to the passenger safety belt retractor pretensioner electrical connector.







25. From under the driver seat, release the tab and disconnect the driver seat side air bag electrical connector.







26. Attach the restraint system diagnostic tool to the driver seat side air bag floor electrical connector.







27. Remove the driver side door scuff plate and weatherstripping.







28. Remove the safety belt from the driver seat guide.







29. Separate the driver side rear trim panel.
1 Pull out to release the retainers and remove the speaker grille.
2 Remove the snap screws.
3 Pull out to release the retaining clips and separate the driver side rear trim panel.







30. Disconnect the driver safety belt retractor pretensioner electrical connector.
1 Slide and disengage the driver safety belt retractor electrical connector locking clip.
2 Pushing in on the two release tabs, disconnect the driver safety belt retractor electrical connector.

NOTE: Pulling the safety belt webbing out of the retractor, can aid in releasing the lower safety belt retractor pretensioner electrical connector retaining tab.







31. Attach the restraint system diagnostic tool to the driver safety belt retractor pretensioner electrical connector.
32. Connect the battery ground cable.
33. With the restraint system diagnostic tools installed at all deployable devices, prove out the supplemental restraint system (SRS).
34. Disconnect the battery ground cable and wait at least one minute.

REACTIVATION

WARNING: TO REDUCE THE RISK OF SERIOUS PERSONAL INJURY, READ AND FOLLOW ALL WARNINGS, CAUTIONS, AND NOTES AT THE BEGINNING OF THE DEACTIVATION PROCEDURE.

1. Disconnect the battery ground cable and wait at least one minute.







2. Remove the restraint system diagnostic tool from the driver side safety belt retractor pretensioner electrical connector.







3. Connect the driver side safety belt retractor pretensioner electrical connector.
1 Connect the driver side safety belt retractor pretensioner electrical connector.
2 Slide and engage the driver side safety belt retractor pretensioner electrical connector locking clip.







4. Install the driver side rear trim panel and speaker grille.
^ Make sure that the safety belt tongue is accessible and not behind the trim panel after rear trim panel installation.







5. Position the safety belt back into the driver seat guide.
^ Make sure the safety belt is not twisted after installation.







6. Install the driver side door weatherstripping and scuff plate.







7. From under the driver seat, remove the restraint system diagnostic tool from the driver seat side air bag floor electrical connector.







8. From under the driver seat, connect the driver seat side air bag electrical connector.







9. Remove the restraint system diagnostic tool from the passenger side safety belt retractor pretensioner electrical connector.







10. Connect the passenger side safety belt retractor pretensioner electrical connector.
1 Connect the passenger side safety belt retractor pretensioner electrical connector.
2 Slide and engage the passenger side safety belt retractor pretensioner electrical connector locking clip.







11. Install the passenger side rear trim panel and speaker grille.
^ Make sure that the safety belt tongue is accessible and not behind the trim panel after rear trim panel installation.







12. Position the safety belt back into the passenger seat guide.
^ Make sure the safety belt is not twisted after installation.







13. Install the passenger side door weatherstripping and scuff plate.







14. From under the passenger seat, remove the restraint system diagnostic tool from the passenger seat side air bag floor electrical connector.







15. From under the passenger seat, connect the passenger seat side air bag electrical connector.
16. Connect the battery ground cable.
17. Position the front seats rearward.
18. Disconnect the battery ground cable and wait at least one minute.

WARNING: TO AVOID ACCIDENTAL DEPLOYMENT AND POSSIBLE PERSONAL INJURY, THE BACKUP POWER SUPPLY MUST BE DEPLETED BEFORE REPAIRING OR REPLACING ANY FRONT OR SIDE AIR BAG SUPPLEMENTAL RESTRAINT SYSTEM (SRS) COMPONENTS AND BEFORE SERVICING, REPLACING, ADJUSTING OR STRIKING COMPONENTS NEAR THE FRONT OR SIDE AIR BAG SENSORS, SUCH AS DOORS, INSTRUMENT PANEL, CONSOLE, DOOR LATCHES, STRIKERS, SEATS AND HOOD LATCHES.

PLEASE REFER TO COMPONENT OR SYSTEM TO DETERMINE LOCATION OF THE FRONT AIR BAG SENSORS.

THE SIDE IMPACT SENSORS ARE LOCATED AT OR NEAR THE BASE OF THE B-PILLAR.

TO DEPLETE THE BACKUP POWER SUPPLY ENERGY, DISCONNECT THE BATTERY GROUND CABLE AND WAIT AT LEAST ONE MINUTE. BE SURE TO DISCONNECT AUXILIARY BATTERIES AND POWER SUPPLIES (IF EQUIPPED).








19. Remove the restraint system diagnostic tool from the vehicle harness side of the passenger air bag electrical connector.







20. The illustration shows the vicinity in which the passenger air bag electrical connector is located.
With the passenger air bag electrical connector in hand, reach into the glove box opening toward the center of the instrument panel, over the top of the cross-car beam.

NOTE: The passenger air bag electrical connector is not visible due to its mounting position in the instrument panel.







21. This is a blind operation due to the passenger air bag module electrical connector mounting location.
Connect the passenger air bag module electrical connector (this is a blind operation).
1 Connect the passenger air bag module electrical connector.
2 Slide and engage the passenger air bag module electrical connector locking clip.

NOTE: The passenger air bag module is shown with instrument panel removed for clarity.

22. Install the glove compartment and door.







23. Remove the restraint system diagnostic tool from the vehicle harness side of the clockspring electrical connector.







24. Connect the clockspring electrical connector at the base of the steering column.







25. Position the steering column opening reinforcement and install the screws.







26. Tighten the two driver-side instrument panel tunnel brace bolts.
^ Reposition the carpet.

CAUTION: Be sure the steering column opening reinforcement is in place before tightening the driver-side instrument panel tunnel brace bolts.







27. Position the heater duct and install the screw.







28. Position the hood latch release cable and handle assembly to the steering column opening reinforcement and install the screws.







29. Install the driver side insulator.
1 Install the light socket (not shown).
2 Position the driver side insulator to the instrument panel and front floor.
3 Install the pin-type retainers.







30. Connect the electrical connectors to the switches in the lower steering column opening finish panel.







31. Install the lower steering column opening finish panel to the instrument panel.
1 Position the lower steering column opening finish panel to the instrument panel and push in, seating the retaining clips.
2 Install the screws.

32. Connect the battery ground cable.
33. With all the restraint system diagnostic tools removed, prove out the supplemental restraint system (SRS).

WARNING: THE RESTRAINT SYSTEM DIAGNOSTIC TOOL IS FOR RESTRAINT SYSTEM SERVICE ONLY. REMOVE FROM VEHICLE PRIOR TO ROAD USE. FAILURE TO REMOVE COULD RESULT IN INJURY AND POSSIBLE VIOLATION OF VEHICLE SAFETY STANDARDS.

34. Check the active restraint system for correct operation.