Operation CHARM: Car repair manuals for everyone.
Manuals through 2025 now available!

Our trusted friends have launched a new website named LEMON, which has newer manuals. It also contains all the CHARM manuals.

LEMON is the spiritual successor to CHARM, I recommend you try it!

Link: lemon-manuals.la or lemon-manuals.org.ua

(Some people have issue connecting. LEMON is investigating. For now, use Firefox or change your DNS server)

Or, hide this message: temporarily or permanently

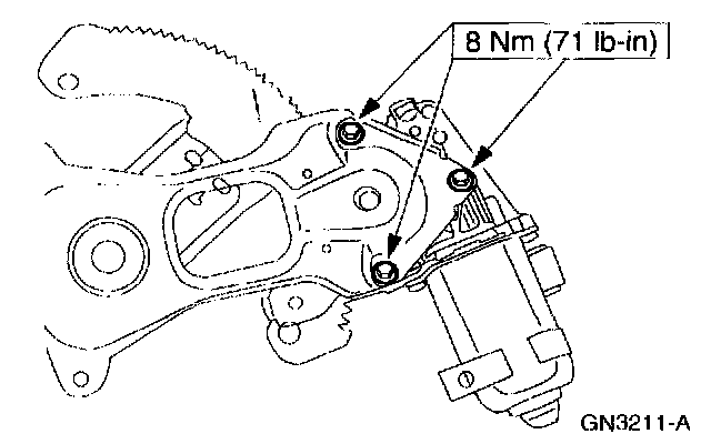
Front Door Window Motor: Service and Repair

REMOVAL
1. Remove the front door trim panel.







2. Remove the watershield.







3. Disconnect the window regulator motor electrical connector.







4. Using a 12.7 mm (0.5 in) drill bit, drill out the drill dimples.

NOTE: Check the interior of the door to make sure the front window regulator wiring is not in line with the holes to be drilled into the door inner panel.







5. Remove the bolts and the window regulator motor.

WARNING: THE WINDOW REGULATOR MOTOR HAS A COUNTERBALANCED SPRING. THE WINDOW MUST BE IN THE UP POSITION TO REMOVE THE MOTOR OR BLOCKED TO PREVENT THE WINDOW FROM SUDDENLY RAISING. FAILURE TO FOLLOW THESE INSTRUCTIONS MAY RESULT IN PERSONAL INJURY.

INSTALLATION







1. To install, reverse the removal procedure.