Operation CHARM: Car repair manuals for everyone.
Manuals through 2025 now available!

Our trusted friends have launched a new website named LEMON, which has newer manuals. It also contains all the CHARM manuals.

LEMON is the spiritual successor to CHARM, I recommend you try it!

Link: lemon-manuals.la or lemon-manuals.org.ua

(Some people have issue connecting. LEMON is investigating. For now, use Firefox or change your DNS server)

Or, hide this message: temporarily or permanently

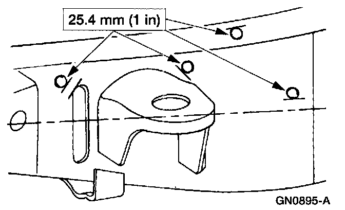
Drilling Precautions

DRILLING PRECAUTIONS







1. If a hole must be drilled in the frame, make sure the hole meets the following requirements:
- The hole is at least the specified distance from the edge of the nearest hole.
- The edge of the drilled hole is at least the specified distance from the edge of the flange.
- The hole is at least the specified distance above the frame centerline.
- The drilled hole is at least the specified distance from any other existing bracket or component of the frame.