Operation CHARM: Car repair manuals for everyone.
Manuals through 2025 now available!

Our trusted friends have launched a new website named LEMON, which has newer manuals. It also contains all the CHARM manuals.

LEMON is the spiritual successor to CHARM, I recommend you try it!

Link: lemon-manuals.la or lemon-manuals.org.ua

(Some people have issue connecting. LEMON is investigating. For now, use Firefox or change your DNS server)

Or, hide this message: temporarily or permanently

Ambient Light Sensor: Service and Repair

REMOVAL

All Vehicles
1. Disconnect the battery ground cable.

Crown Victoria







2. Remove the defroster grille panel.
^ Disconnect the electrical connector.

CAUTION: To avoid damaging the light sensor amplifier electrical connector, carefully tilt the panel to expose the connector without stretching the wiring.







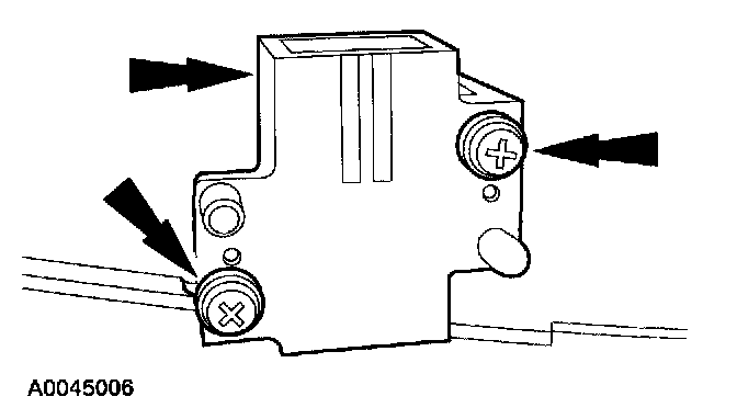
3. Unclip the light sensor amplifier.

Grand Marquis







4. Remove the defroster grille panel.
^ Disconnect the electrical connector.







5. Remove the screws and the light sensor amplifier.

INSTALLATION

All Vehicles
1. To install, reverse the removal procedure.