Operation CHARM: Car repair manuals for everyone.
Manuals through 2025 now available!

Our trusted friends have launched a new website named LEMON, which has newer manuals. It also contains all the CHARM manuals.

LEMON is the spiritual successor to CHARM, I recommend you try it!

Link: lemon-manuals.la or lemon-manuals.org.ua

(Some people have issue connecting. LEMON is investigating. For now, use Firefox or change your DNS server)

Or, hide this message: temporarily or permanently

Cruise Control Servo: Service and Repair

REMOVAL
1. Disconnect the battery ground cable.
2. Remove the engine air cleaner.
3. Remove the air cleaner outlet tube.







4. Disconnect the pin-type retainer and remove the accelerator control splash shield.

NOTE: A new pin-type retainer must be installed.







5. Disconnect the speed control cable.
1 Disconnect the speed control cable from the throttle body cam.
2 Squeeze the retaining tabs and remove the speed control cable.







6. Position the radiator coolant recovery reservoir aside.
1 Remove the bolts.
2 Position the reservoir aside.







7. Detach the speed control servo from the inner fender well.
1 Disconnect the speed control servo electrical connector.
2 Remove the bolts to detach the servo.







8. Remove the speed control servo.
1 Press the locking tab in.
2 Rotate the speed control cable cap and disconnect the speed control cable.
3 Remove the speed control servo.







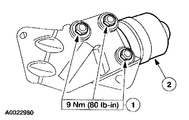
9. Detach the speed control servo from the bracket.
1 Remove the bolts.
2 Detach the speed control servo from the bracket.

INSTALLATION
1. To install, reverse the removal procedure.