Operation CHARM: Car repair manuals for everyone.
Manuals through 2025 now available!

Our trusted friends have launched a new website named LEMON, which has newer manuals. It also contains all the CHARM manuals.

LEMON is the spiritual successor to CHARM, I recommend you try it!

Link: lemon-manuals.la or lemon-manuals.org.ua

(Some people have issue connecting. LEMON is investigating. For now, use Firefox or change your DNS server)

Or, hide this message: temporarily or permanently

Toe Adjustment

Toe Adjustment

All vehicles





1. Start the engine and center the steering wheel.
2. Turn the engine off, and hold the steering wheel in the "straight forward" position using a suitable holding device.

E-150, E-450 vehicles





3. Loosen the nuts.
^ Clean and lubricate the steering linkage and tie rod end threads.





4. Rotate the adjusting sleeves to obtain the correct toe setting.





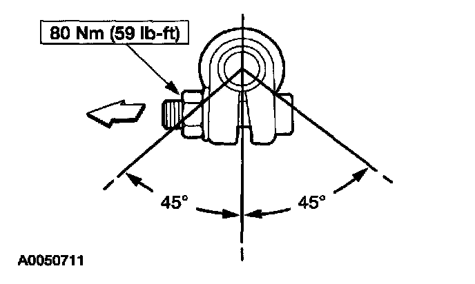
5. Position the RH adjusting sleeve clamp opening downward within 45 degrees of vertical. Tighten the nuts.





6. Position the LH adjusting sleeve clamp opening upward within 45 degrees of vertical. Tighten the nuts.

E550 vehicles





7. Loosen the two nuts.
^ Clean and lubricate the tie-rod threads.





8. Rotate the adjusting sleeves.





9. Position the adjusting sleeve clamp openings downward within 45 degrees of vertical. Tighten the nuts.





10. If necessary, loosen the drag link adjusting sleeve nuts and rotate the sleeve to obtain equal RH and LH toe settings.
^ Position the adjusting sleeve clamp openings downward within 45 degrees of vertical. Tighten the nuts.
11. Recheck the toe settings and adjust if necessary.