Operation CHARM: Car repair manuals for everyone.
Manuals through 2025 now available!

Our trusted friends have launched a new website named LEMON, which has newer manuals. It also contains all the CHARM manuals.

LEMON is the spiritual successor to CHARM, I recommend you try it!

Link: lemon-manuals.la or lemon-manuals.org.ua

(Some people have issue connecting. LEMON is investigating. For now, use Firefox or change your DNS server)

Or, hide this message: temporarily or permanently

Electronic Brake Control Module: Service and Repair

Anti-Lock Brake System (ABS) Module

Removal
1. Remove the Hydraulic Control Unit (HCU).





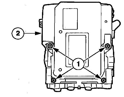
2. Detach the bracket from the HCU.
1 Remove the bolts.
2 Detach the bracket from the HCU.





3. Remove the anti-lock brake control module.
1 Remove the screws.
2 Remove the anti-lock brake control module.

Installation








1. To install, reverse the removal procedure.