Operation CHARM: Car repair manuals for everyone.
Manuals through 2025 now available!

Our trusted friends have launched a new website named LEMON, which has newer manuals. It also contains all the CHARM manuals.

LEMON is the spiritual successor to CHARM, I recommend you try it!

Link: lemon-manuals.la or lemon-manuals.org.ua

(Some people have issue connecting. LEMON is investigating. For now, use Firefox or change your DNS server)

Or, hide this message: temporarily or permanently

Starter Motor: Service and Repair

REMOVAL

WARNING: WHEN CARRYING OUT MAINTENANCE ON THE STARTING SYSTEM, BE AWARE THAT HEAVY GAUGE LEADS ARE CONNECTED DIRECTLY TO THE BATTERY. MAKE SURE PROTECTIVE CAPS ARE IN PLACE WHEN MAINTENANCE IS COMPLETE.

1. Disconnect the battery ground cable.
2. Raise and support the vehicle.







3. Remove the starter motor solenoid terminal cover.







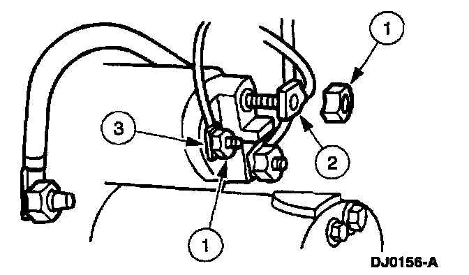
4. Disconnect the starter motor electrical connections.
1 Remove the nuts (B+ and S).
2 Remove the battery cable.
3 Remove the starter solenoid wire.







5. Remove the nut and the starter motor ground cable.







6. Remove the starter motor.
1 Remove the bolts.

NOTE: Most applications use two bolts, however, some use three bolts.

2 Remove the starter motor.

INSTALLATION

WARNING: WHEN CARRYING OUT MAINTENANCE ON THE STARTING SYSTEM, BE AWARE THAT HEAVY GAUGE LEADS ARE CONNECTED DIRECTLY TO THE BATTERY. MAKE SURE THE PROTECTIVE CAPS ARE IN PLACE WHEN THE MAINTENANCE IS COMPLETE.







1. Install the starter motor.
1 Position the starter motor.
2 Install the bolts.

NOTE: Most applications use two bolts; however, some use three bolts.







2. Connect the starter motor ground cable and install the nut.







3. Connect the starter motor electrical connections.
1 Position the battery cable.
2 Position the starter solenoid wire.
3 Install the nuts.







4. Install the starter motor solenoid terminal cover.
5. Lower the vehicle.
6. Reconnect the battery ground cable.