Operation CHARM: Car repair manuals for everyone.
Manuals through 2025 now available!

Our trusted friends have launched a new website named LEMON, which has newer manuals. It also contains all the CHARM manuals.

LEMON is the spiritual successor to CHARM, I recommend you try it!

Link: lemon-manuals.la or lemon-manuals.org.ua

(Some people have issue connecting. LEMON is investigating. For now, use Firefox or change your DNS server)

Or, hide this message: temporarily or permanently

Air Flow Meter/Sensor: Service and Repair

REMOVAL
1. Disconnect the battery ground cable.
2. Remove the air cleaner outlet tube and the engine Air Cleaner (ACL).







3. Slide the grommet out of the engine air cleaner.







4. Disconnect the electrical connector.







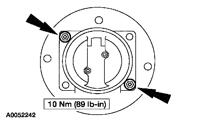
5. Use a suitable tool to remove the MAF sensor cover.







6. Remove the two nuts and remove the Mass Air Flow (MAF) sensor.

INSTALLATION







1. Follow the removal procedure in reverse order.