Operation CHARM: Car repair manuals for everyone.
Manuals through 2025 now available!

Our trusted friends have launched a new website named LEMON, which has newer manuals. It also contains all the CHARM manuals.

LEMON is the spiritual successor to CHARM, I recommend you try it!

Link: lemon-manuals.la or lemon-manuals.org.ua

(Some people have issue connecting. LEMON is investigating. For now, use Firefox or change your DNS server)

Or, hide this message: temporarily or permanently

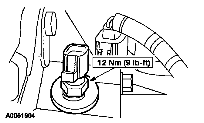
Coolant Temperature Sensor/Switch (For Computer): Service and Repair

REMOVAL
1. Drain the engine cooling system.
2. Disconnect the battery ground cable.







3. Disconnect the Engine Coolant Temperature (ECT) sensor electrical connector.







4. Remove the engine coolant temperature sensor.

INSTALLATION







1. To install, reverse the removal procedure.

NOTE: Coat the threads of the engine coolant temperature sensor with pipe sealant prior to installation.