Operation CHARM: Car repair manuals for everyone.
Manuals through 2025 now available!

Our trusted friends have launched a new website named LEMON, which has newer manuals. It also contains all the CHARM manuals.

LEMON is the spiritual successor to CHARM, I recommend you try it!

Link: lemon-manuals.la or lemon-manuals.org.ua

(Some people have issue connecting. LEMON is investigating. For now, use Firefox or change your DNS server)

Or, hide this message: temporarily or permanently

Pitman Arm: Service and Repair

Sector Shaft Arm

Special Tool(s):





Special Tool(s)

Removal and Installation

NOTE: Replace the steering gear sector shaft arm if it is bent. If the steering gear sector shaft arm is bent, check remainder of the steering linkage system for signs of damage. Replace any damaged steering linkage parts as required. Do not attempt to straighten the steering gear sector shaft arm or any other steering linkage components.

All vehicles
1. Position and lock the wheels in the straight-forward position. Raise and support the vehicle.

F-450 to F-550 4x2 and all 4x4 vehicles
2. Remove the track bar.





3. Remove the bolts.





4. Remove the nut, bolt and the track bar bracket.

All vehicles





5. Remove the nut and lockwasher. Discard the lockwasher.





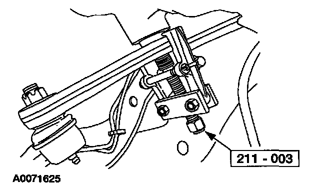
6. Using the special tool, separate the steering gear sector shaft arm from the steering gear.





7. Remove the cotter pin and castellated nut. Discard the cotter pin.





8. Using the special tool, separate the steering sector shaft arm drag link from the steering gear sector shaft arm.
9. To install, reverse the removal procedure.