Operation CHARM: Car repair manuals for everyone.
Manuals through 2025 now available!

Our trusted friends have launched a new website named LEMON, which has newer manuals. It also contains all the CHARM manuals.

LEMON is the spiritual successor to CHARM, I recommend you try it!

Link: lemon-manuals.la or lemon-manuals.org.ua

(Some people have issue connecting. LEMON is investigating. For now, use Firefox or change your DNS server)

Or, hide this message: temporarily or permanently

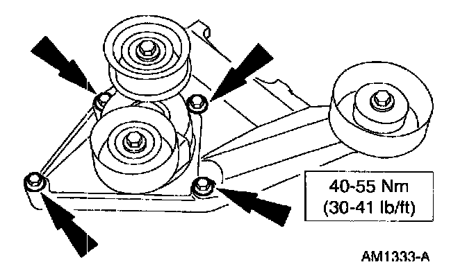
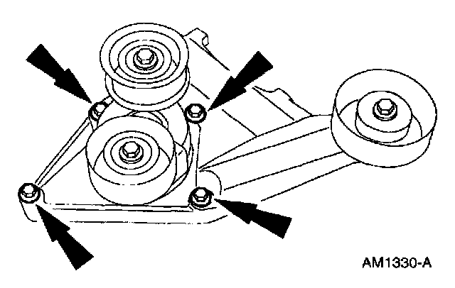
Compressor Bracket

REMOVAL
1. Remove the drive belt from the A/C clutch pulley.







2. Remove the bolts and reposition the A/C compressor.







3. Remove the bolts and remove the A/C compressor bracket.







4. Remove the bolt and remove the drive belt tensioner.







5. Remove the bolt and remove the idler pulley.

INSTALLATION






















1. Follow the removal procedure in reverse order.