Operation CHARM: Car repair manuals for everyone.
Manuals through 2025 now available!

Our trusted friends have launched a new website named LEMON, which has newer manuals. It also contains all the CHARM manuals.

LEMON is the spiritual successor to CHARM, I recommend you try it!

Link: lemon-manuals.la or lemon-manuals.org.ua

(Some people have issue connecting. LEMON is investigating. For now, use Firefox or change your DNS server)

Or, hide this message: temporarily or permanently

Front Fender: Service and Repair

FENDER - EXPEDITION

Removal and Installation

NOTE: Left side shown, right side similar.

1. Remove the front fender splash shield.







2. Remove the front fender to front bumper cover bolts.







3. Remove the front fender to radiator support bolt.







4. Remove the front fender lower bolts.







5. Remove the foam insulator.
- Remove the pin-type retainer.







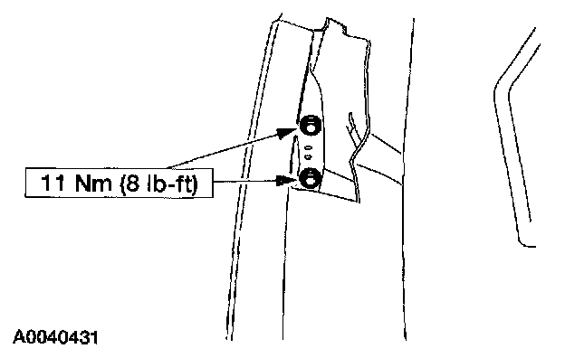
6. Remove the front fender inner bolts.







7. Remove the headlight.
- Remove the bolts and disconnect the electrical connectors.







8. Remove the front fender front bolts.
9. Remove the cowl panel grille.







10. Remove the front fender.
- Remove the bolts.

11. To install, reverse the removal procedure.