Operation CHARM: Car repair manuals for everyone.
Manuals through 2025 now available!

Our trusted friends have launched a new website named LEMON, which has newer manuals. It also contains all the CHARM manuals.

LEMON is the spiritual successor to CHARM, I recommend you try it!

Link: lemon-manuals.la or lemon-manuals.org.ua

(Some people have issue connecting. LEMON is investigating. For now, use Firefox or change your DNS server)

Or, hide this message: temporarily or permanently

Liftgate Window Glass: Service and Repair

LIFTGATE WINDOW GLASS

REMOVAL
1. Remove the liftgate wiper motor arm.







2. Disconnect the rear window defrost electrical connectors.







3. CAUTION:
- The liftgate must be supported when removing and installing the liftgate assist cylinders.
- Do not extend the socket clips more than 2.0 mm (0.08 in) or failure of the socket can occur.


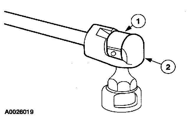
Disconnect the two liftgate glass assist cylinders.
1 Insert a screwdriver blade under the socket clip and lift.
2 Gently pull the socket off the ball stud.







4. Remove the liftgate hinge bolts and remove the glass.

INSTALLATION
1. To install, reverse the removal procedure.