Operation CHARM: Car repair manuals for everyone.
Manuals through 2025 now available!

Our trusted friends have launched a new website named LEMON, which has newer manuals. It also contains all the CHARM manuals.

LEMON is the spiritual successor to CHARM, I recommend you try it!

Link: lemon-manuals.la or lemon-manuals.org.ua

(Some people have issue connecting. LEMON is investigating. For now, use Firefox or change your DNS server)

Or, hide this message: temporarily or permanently

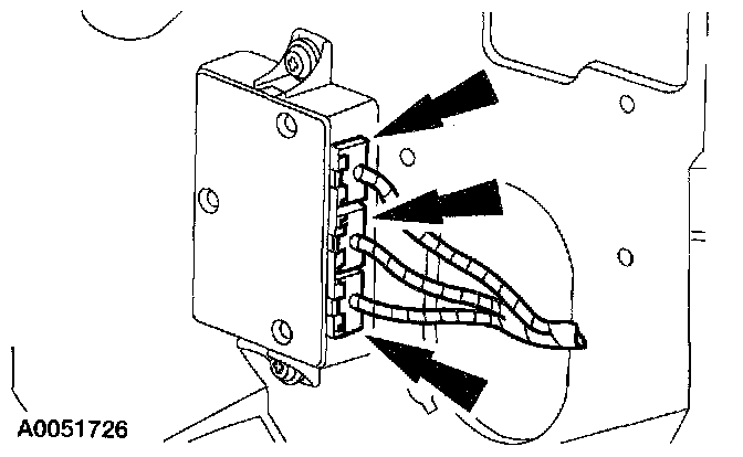
Vehicle Security Module

VEHICLE SECURITY MODULE

REMOVAL

1. NOTE: Prior to removal of the vehicle security module, it is necessary to upload module configuration information to a diagnostic tool. This information needs to be downloaded into the new module once installed.

Disconnect the battery ground cable.

2. Remove the pushpin and the RH interior kick panel.







3. Disconnect the three vehicle security module electrical connectors.







4. Remove the two screws and the vehicle security module.

INSTALLATION
1. To install, reverse the removal procedure.