Operation CHARM: Car repair manuals for everyone.
Manuals through 2025 now available!

Our trusted friends have launched a new website named LEMON, which has newer manuals. It also contains all the CHARM manuals.

LEMON is the spiritual successor to CHARM, I recommend you try it!

Link: lemon-manuals.la or lemon-manuals.org.ua

(Some people have issue connecting. LEMON is investigating. For now, use Firefox or change your DNS server)

Or, hide this message: temporarily or permanently

Cruise Control Servo: Service and Repair

SPEED CONTROL ACTUATOR

REMOVAL







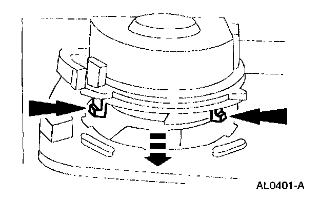
1. Remove the speed control actuator cable cap from the speed control actuator.
1 Push in the locking arm on the speed control actuator cable cap.
2 Rotate the speed control actuator cable cap counterclockwise.







2. Disconnect the speed control actuator cable from the speed control actuator.
1 Depress the spring retainer.
2 Slide the core wire end out of the speed control actuator pulley.







3. Disconnect the speed control actuator electrical connector.
- Depress the connector tab.







4. NOTE: Do not remove the rubber grommets from the speed control actuator bracket.

Remove the bolts and the speed control actuator and bracket.







5. Remove the screws and the speed control actuator bracket.

INSTALLATION







1. NOTE: The rubber grommets must be correctly seated in the speed control actuator bracket for correct noise and vibration isolation.

Install the speed control actuator bracket.







2. Install the speed control actuator.







3. Insert the speed control cable slug into the speed control actuator pulley slot.
1 Gently compress the speed control actuator spring.







4. NOTE:
- Make sure the rubber seal is fully seated onto the speed control actuator cable cap.
- Incorrect wrapping of the speed control actuator cable around the speed control actuator pulley may result in a high idle condition.

Release the compressed spring while aligning the speed control actuator cable cap tabs with the slots in the speed control actuator housing.







5. Rotate the speed control actuator cable cap until the locking arm engages.