Operation CHARM: Car repair manuals for everyone.
Manuals through 2025 now available!

Our trusted friends have launched a new website named LEMON, which has newer manuals. It also contains all the CHARM manuals.

LEMON is the spiritual successor to CHARM, I recommend you try it!

Link: lemon-manuals.la or lemon-manuals.org.ua

(Some people have issue connecting. LEMON is investigating. For now, use Firefox or change your DNS server)

Or, hide this message: temporarily or permanently

Digital Transmission Range (TR) Sensor

Digital Transmission Range (TR) Sensor





Special Tool(s)

1. Disconnect the battery ground cable.
2. Raise and support the vehicle.





3. Disconnect the digital TR electrical connector.





4. CAUTION: Do not pry on the swivel tube to disconnect the transmission shift linkage.

Disconnect the manual lever shift control cable.





5. CAUTION: Discard outer manual control lever shaft nut. Do not reuse. The old nut will not retain torque specification.

Remove the manual control lever.
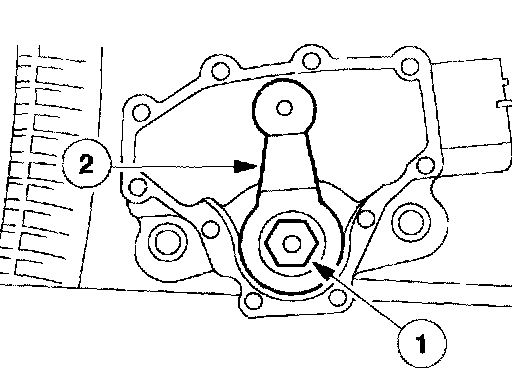
1 Remove the nut.
2 Remove the lever.





6. Remove the digital TR sensor bolts and the TR sensor.

Installation





1. Install the digital TR sensor and loosely install the bolts.





2. NOTE: Manual shift lever must be in the neutral position.

Using the special tool, align the digital TR sensor slots. The tool is designed to fit snug.





3. Tighten the bolts.





4. Install the manual control lever.
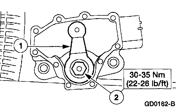
1 Position the manual control lever.
2 Install a new manual lever shaft outer nut.





5. With the manual lever in overdrive connect the shift lever control cable.





6. Install the digital TR sensor electrical connector.
7. Lower the vehicle.

8. NOTE: When the battery is disconnect and reconnected, some abnormal drive symptoms may occur while the vehicle relearns its adaptive strategy. The vehicle may need to be driven 16 km (10 miles) or more to relearn the strategy.

Connect the battery ground cable.