Operation CHARM: Car repair manuals for everyone.
Manuals through 2025 now available!

Our trusted friends have launched a new website named LEMON, which has newer manuals. It also contains all the CHARM manuals.

LEMON is the spiritual successor to CHARM, I recommend you try it!

Link: lemon-manuals.la or lemon-manuals.org.ua

(Some people have issue connecting. LEMON is investigating. For now, use Firefox or change your DNS server)

Or, hide this message: temporarily or permanently

Flex Plate: Service and Repair

Flexplate or Flywheel and Crankshaft Rear Seal





Special Tool(s)

1. Remove the transmission.

2. NOTE: This step is necessary only if the rear oil seal retainer plate is to be removed.

Remove the oil pan.
3. Remove the components in the order indicated.





4. To remove individual components, carry out only the listed steps.

Part 1 Of 2:




Part 2 Of 2:





5. To install, reverse the removal procedure.
6. Install the transmission.

7. NOTE: This step is necessary only if the rear oil seal retainer plate was removed.

Install the oil pan.

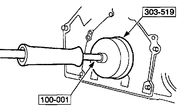
Item 4: Crankshaft Rear Oil Seal Slinger Removal Note





1. Using the special tools, remove the crankshaft rear oil seal slinger.

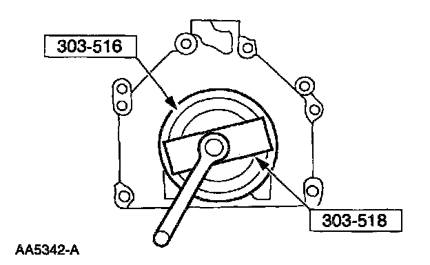
Item 5: Crankshaft Rear Oil Seal Removal Note





1. Using the special tools, remove the crankshaft rear oil seal.

Item 7: Crankshaft Rear Oil Seal Retainer Plate Installation Note





1. CAUTION: Do not use metal scrapers, wire brushes, power abrasive discs, or other abrasive means to clean the sealing surfaces. These tools cause scratches and gouges which make leak paths. Use a plastic scraping tool to remove all traces of old sealant.

NOTE: If the rear crankshaft seal retaining plate is not secured within four minutes, the sealant must be removed and the sealing area cleaned with metal surface cleaner. Allow to dry until there is no sign of wetness, or four minutes, whichever is longer. Failure to follow this procedure can cause future oil leaks.

NOTE: The silicone must be applied on the groove along the retainer plate.

Apply a 4 mm (0.16 inch) bead of silicone gasket and sealant around the rear oil seal retainer plate sealing surface.

Item 6: Crankshaft Rear Oil Seal Retainer Bolts Installation Note





1. Tighten the bolts in the sequence shown to 10 Nm (89 inch lbs.).

Item 5: Crankshaft Rear Oil Seal Installation Note





1. Using the special tools, install the crankshaft rear oil seal.
^ Lubricate the crankshaft rear oil seal with engine oil before installation.

Item 4: Crankshaft Rear Oil Slinger Installation Note





1. Using the special tools, install the crankshaft rear oil slinger.

Item 1: Flexplate or Flywheel Bolts Installation Note





1. Position the flexplate and install the bolts loosely.
^ Tighten the bolts in the sequence shown.