Operation CHARM: Car repair manuals for everyone.
Manuals through 2025 now available!

Our trusted friends have launched a new website named LEMON, which has newer manuals. It also contains all the CHARM manuals.

LEMON is the spiritual successor to CHARM, I recommend you try it!

Link: lemon-manuals.la or lemon-manuals.org.ua

(Some people have issue connecting. LEMON is investigating. For now, use Firefox or change your DNS server)

Or, hide this message: temporarily or permanently

Windshield: Service and Repair

WINDSHIELD GLASS


Special Tool(s):






SPECIAL TOOL(S)

REMOVAL

WARNING: To prevent glass splinters from entering eyes or cutting hands, wear safety glasses and heavy gloves when cutting the glass from the vehicle.

1. Remove the cowl top vent panels.
2. If equipped, remove the overhead console.







3. Remove the LH and RH A-pillar assist handles.
1 Remove the four screw covers and the four screws.
2 Remove the two A-pillar assist handles.







4. Remove the LH and RH windshield side garnish mouldings.
5. Remove the interior rear view mirror.







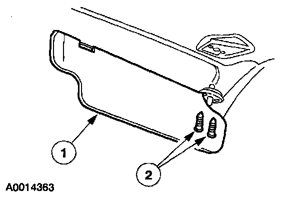
6. Remove the RH and LH sun visors.
1 Remove the four screws.
2 Remove the sun visors.







7. Remove the LH and RH sun visor clips.
1 Remove the two screws.
2 Remove the sun visor clips.

8. Lower the front portion of the headliner.







9. Remove the upper windshield weatherstrip.







10. Remove the LH and RH windshield mouldings.
11. Mark the outside of the windshield glass with a wax pencil to avoid damaging the glass stops when cutting urethane adhesive.
12. Using a soft brush or vacuum, remove any dirt and foreign material from the pinch weld.







13. CAUTION: Care must be taken to avoid scratching the pinch weld.

NOTE: Lubricate the urethane adhesive with water to aid Interior Auto Glass Cut-Out Knife Kit when cutting the urethane adhesive.

Using special tool, cut the urethane adhesive from the windshield glass.
- Insert the blade into the urethane at the top middle and work toward the bottom corners.







14. Using the special tool, distance the windshield from the body.







15. NOTE: Removing the windshield glass may require more than one technician.

Using the special tool, cut the remaining urethane adhesive and remove the windshield glass.

16. Using a soft brush or vacuum, remove any dirt and foreign material from the pinch weld.

INSTALLATION

CAUTION: After installing the urethane installed glass, the vehicle should not be driven until the urethane has cured. The curing times at temperatures above 13°C (55°F) and relative humidity above 50% is 12-24 hours (refer to Essex Drive Away Chart for cure times, as temperatures and humidity vary). Inadequate curing of the urethane may adversely affect the strength of the urethane adhesive bond.

1. Dry fit the windshield glass by centering it side-to-side and by adjusting the setting blocks (if equipped) to get the correct position of the part top-to-bottom. Make the alignment marks with tape or non-staining grease pencil on both the glass and the vehicle body.







2. CAUTION: Care must be taken to avoid scratching the pinch weld.

Trim the remaining urethane on the pinch weld to within specification.
- The old urethane surface should be smooth and free of cuts and contamination.

3. Use a wool applicator to apply Urethane Metal Primer Essex U-413 meeting Ford specification WSB-M2G234-C to any exposed metal on the pinch weld. Allow six to ten minutes to dry.







4. If equipped, apply a foam dam meeting Ford specification ESB-M3G137-A to the pinch weld.
5. If reinstalling the original windshield, remove the excess urethane adhesive from the windshield glass.
6. If installing a new windshield glass, clean the inside of the glass surface with an alcohol-free cleaner to make sure the ceramic-coated area is clean.

7. CAUTION: Wipe off the Urethane Glass Prep immediately after each application because it flash dries.

If installing a new windshield, apply Urethane Glass Prep Essex U-402 meeting Ford specification WSB-M5B280-C twice around the glass surface to be prepped.

8. NOTE: Apply with deliberate strokes, making sure not to overlap the applied area.

If installing a new windshield, apply Urethane Glass Primer Essex U-402 meeting Ford specification WSB-M2G314-B to the same area that was in the previous step. Allow five minutes to dry.







9. Cut the urethane applicator tip to specification.







10. CAUTION: If a vehicle is to be driven within 24 hours of urethane adhesive application, Urethane Adhesive Essex U-216 meeting Ford specification WSB-M2G316-B must be used due to its one hour cure time.

Apply a bead of Urethane Adhesive Essex 400 HV or Essex U-216 meeting Ford specification WSB-M2G316-B to the pinch weld just outside the foam dam.







11. Install the upper windshield weatherstrip.







12. CAUTION: Open the windows to prevent the windshield glass from being pushed out by air pressure if a door is closed.

Using the alignment marks, install the windshield glass.

13. Check the installation for air and water leaks through the urethane bond and add urethane adhesive where needed.

14. NOTE: Use one continuous stroke when removing the excess urethane adhesive.

Paddle the excess urethane adhesive from the two sides of the windshield glass.

15. If necessary, remove excess urethane adhesive from the outside surface of the windshield glass.







16. Install the LH and RH windshield mouldings.
17. Position the headliner.
18. Install the interior rear view mirror.







19. Install the LH and RH sun visor clips.
1 Position the clips.
2 Install the screws.







20. Install the LH and RH sun visors.
1 Position the visors.
2 Install the screws.







21. Install the LH and RH windshield side garnish mouldings.







22. Install the LH and RH A-pillar assist handles.
1 Position the two assist handles.
2 Install the four screws and four covers.

23. If equipped, install the overhead console.
24. Install the cowl top vent panel.