Operation CHARM: Car repair manuals for everyone.
Manuals through 2025 now available!

Our trusted friends have launched a new website named LEMON, which has newer manuals. It also contains all the CHARM manuals.

LEMON is the spiritual successor to CHARM, I recommend you try it!

Link: lemon-manuals.la or lemon-manuals.org.ua

(Some people have issue connecting. LEMON is investigating. For now, use Firefox or change your DNS server)

Or, hide this message: temporarily or permanently

Fuel Injector: Service and Repair

REMOVAL
1. Remove the fuel injection supply manifold.

WARNING:
^ DO NOT SMOKE OR CARRY LIGHTED TOBACCO OR OPEN FLAME OF ANY TYPE WHEN WORKING ON OR NEAR ANY FUEL-RELATED COMPONENTS. HIGHLY FLAMMABLE MIXTURES ARE ALWAYS PRESENT AND CAN BE IGNITED. FAILURE TO FOLLOW THESE INSTRUCTIONS CAN RESULT IN PERSONAL INJURY.
^ FUEL IN THE FUEL SYSTEM REMAINS UNDER HIGH PRESSURE EVEN WHEN THE ENGINE IS NOT RUNNING. BEFORE WORKING ON OR DISCONNECTING ANY OF THE FUEL LINES OR FUEL SYSTEM COMPONENTS, THE FUEL SYSTEM PRESSURE MUST BE RELIEVED. FAILURE TO FOLLOW THESE INSTRUCTIONS CAN RESULT IN PERSONAL INJURY.








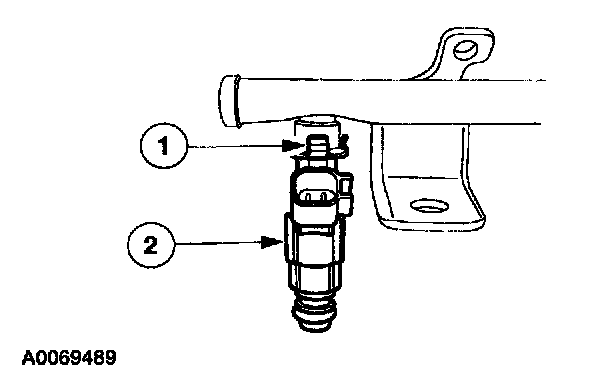
2. Remove the fuel injectors.
1 Remove the retaining clip.
2 Remove the fuel injector.
^ Remove and disgard the fuel injector O-rings.

CAUTION: Use O-ring seals that are made of special fuel-resistant material. Use of ordinary O-ring seals can cause the fuel system to leak. Do not reuse the O-ring seals.

INSTALLATION







1. To install, reverse the removal procedure.

NOTE: Install new O-rings and lubricate with clean engine oil.