Operation CHARM: Car repair manuals for everyone.
Manuals through 2025 now available!

Our trusted friends have launched a new website named LEMON, which has newer manuals. It also contains all the CHARM manuals.

LEMON is the spiritual successor to CHARM, I recommend you try it!

Link: lemon-manuals.la or lemon-manuals.org.ua

(Some people have issue connecting. LEMON is investigating. For now, use Firefox or change your DNS server)

Or, hide this message: temporarily or permanently

System Specifications

Cylinder Head and Valve Train
Cylinder head gasket surface flatness max. overall 0.10 mm (0.004 inch)
Combustion chamber volume 52.6 ± 0.5 cm
Valve arrangement (front to rear) S-P-S-P-S-P-S-P
Intake (left hand):
Valve arrangement (front to rear) E-E-E-E-E-E-E-E
Exhaust (left hand):
Valve arrangement (front to rear) P-S-P-S-P-S-P-S
Intake (right hand):
Valve arrangement (front to rear) E-E-E-E-E-E-E-E
Exhaust (right hand):
Valve guide bore diameter 7.015-7.044 mm (0.2762-0.2773 inch)
Valve stem diameter-intake 6.075-6.995 mm (0.2754-0.2746 inch)
Valve stem diameter-exhaust 6.949-6.970 mm (0.2744-0.2736 inch)
Valve stem-to-guide clearance-intake 0.020-0.069 mm (0.00078-0.00272 inch)
Valve stem-to-guide clearance-exhaust 0.046-0.094 mm (0.0018-0.0037 inch)
Valve head diameter-intake 37 mm (1.46 inch)
Valve head diameter-exhaust 30 mm (1.18 inch)
Valve face runout 0.05 mm (0.002 inch)
Valve face angle 45.5 degrees





NOTE: Install new cylinder head bolts.

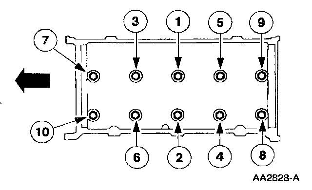
NOTE: LH is shown, RH is similar.

NOTE: Lubricate the bolt heads and threads. Use clean engine oil.

LH and RH cylinder head bolt tightening torque and sequence;
Stage 1: Tighten to 40 Nm (30 ft. lbs.).
Stage 2: Tighten an additional 90°.
Stage 3: Loosen the bolts a minimum of one full turn.
Stage 4: Tighten to 40 Nm (30 ft. lbs.).
Stage 5: Tighten an additional 90°.
Stage 6: Tighten an additional 90°.





Supercharger and CAC cooler assembly-to-lower intake manifold bolts, in the sequence shown, in two stages.
Stage 1: Tighten to 2 Nm (18 inch lbs.).
Stage 2: Tighten to 25 Nm (18 ft. lbs.).





Camshaft bearing cap torque and sequence








Exhaust manifold studs 25 Nm (18 ft. lbs.)