Operation CHARM: Car repair manuals for everyone.
Manuals through 2025 now available!

Our trusted friends have launched a new website named LEMON, which has newer manuals. It also contains all the CHARM manuals.

LEMON is the spiritual successor to CHARM, I recommend you try it!

Link: lemon-manuals.la or lemon-manuals.org.ua

(Some people have issue connecting. LEMON is investigating. For now, use Firefox or change your DNS server)

Or, hide this message: temporarily or permanently

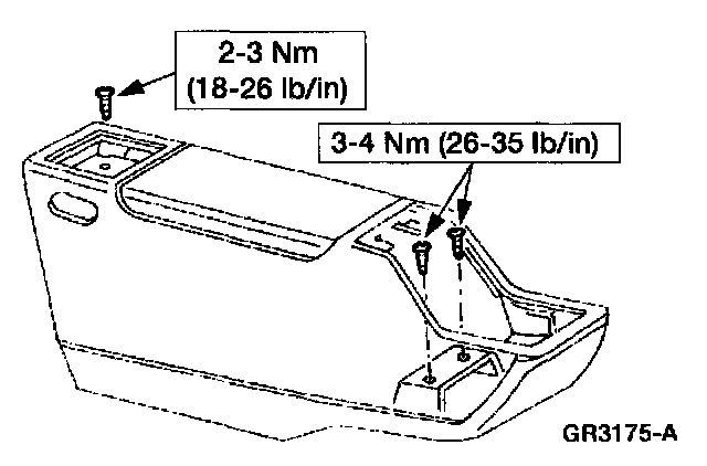
Console: Service and Repair

CONSOLE - FLOOR

REMOVAL







1. Remove the front seat center armrest.
1 Remove the two covers.
2 Remove the four bolts.
3 Remove the armrest.







2. Remove the utility tray beverage holder.







3. Remove the floor console
1 Remove the screws.
2 Remove the floor console.

INSTALLATION












1. To install, reverse the removal procedure.