Operation CHARM: Car repair manuals for everyone.
Manuals through 2025 now available!

Our trusted friends have launched a new website named LEMON, which has newer manuals. It also contains all the CHARM manuals.

LEMON is the spiritual successor to CHARM, I recommend you try it!

Link: lemon-manuals.la or lemon-manuals.org.ua

(Some people have issue connecting. LEMON is investigating. For now, use Firefox or change your DNS server)

Or, hide this message: temporarily or permanently

Reactivate

SUPPLEMENTAL RESTRAINT SYSTEM (SRS) DEACTIVATION AND REACTIVATION


Special Tool(s):






SPECIAL TOOL(S)

Reactivation

WARNING: To reduce the risk of serious personal injury, read and follow all warnings, cautions, and notes at the beginning of the deactivation procedure.







1. NOTE: Make sure the battery negative cable is still disconnected before continuing with the reactivation portion of this procedure.

Remove the restraint system diagnostic tool from the driver side safety belt retractor pretensioner electrical connector.







2. Connect the driver side safety belt retractor pretensioner electrical connector.
1 Connect the driver side safety belt retractor pretensioner electrical connector.
2 Slide and engage the driver side safety belt retractor pretensioner electrical connector locking clip.







3. Install the driver side rear trim panel and speaker grille.
- Make sure that the safety belt tongue is accessible and not behind the trim panel after rear trim panel installation.







4. Position the safety belt back into the driver seat guide.
- Make sure the safety belt is not twisted after installation.







5. Install the driver side door weather-stripping and scuff plate.







6. From under the driver seat, remove the restraint system diagnostic tool from the driver seat side air bag floor electrical connector.







7. From under the driver seat, connect the driver seat side air bag electrical connector.







8. Remove the restraint system diagnostic tool from the passenger side safety belt retractor pretensioner electrical connector.







9. Connect the passenger side safety belt retractor pretensioner electrical connector.
1 Connect the passenger side safety belt retractor pretensioner electrical connector.
2 Slide and engage the passenger side safety belt retractor pretensioner electrical connector locking clip.







10. Install the passenger side rear trim panel and speaker grille.
- Make sure that the safety belt tongue is accessible and not behind the trim panel after rear trim panel installation.







11. Position the safety belt back into the passenger seat guide.
- Make sure the safety belt is not twisted after installation.







12. Install the passenger side door weather-stripping and scuff plate.







13. From under the passenger seat, remove the restraint system diagnostic tool from the passenger seat side air bag floor electrical connector.







14. From under the passenger seat, connect the passenger seat side air bag electrical connector.
15. Connect the battery ground cable.
16. Position the front seats rearward.

17. WARNING: To avoid accidental deployment and possible personal injury, the backup power supply must be depleted before repairing or replacing any front or side air bag supplemental restraint system (SRS) components and before servicing, replacing, adjusting or striking components near the front or side air bag sensors, such as doors, instrument panel, console, door latches, strikers, seats and hood latches.

The side impact sensors are attached to the rocker panels, near the seats.

To deplete the backup power supply energy, disconnect the battery ground cable and wait at least one minute. Be sure to disconnect auxiliary batteries and power supplies (if equipped).


Disconnect the battery ground cable and wait at least one minute.







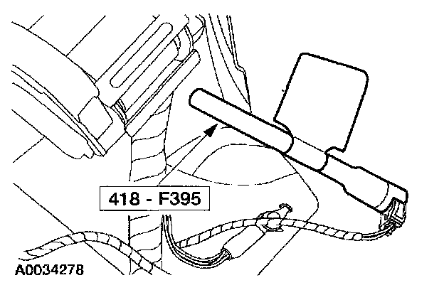
18. Remove the restraint system diagnostic tool from the vehicle harness side of the passenger air bag electrical connector.







19. NOTE: The passenger air bag electrical connector is not visible due to its mounting position in the instrument panel.

The illustration shows the vicinity in which the passenger air bag electrical connector is located.

With the passenger air bag electrical connector in hand, reach into the glove box opening toward the center of the instrument panel, above the cross-car beam.







20. NOTE: The passenger air bag module is shown with instrument panel removed for clarity.

This is a blind operation due to the passenger air bag module electrical connector mounting location.

Connect the passenger air bag module electrical connector (this is a blind operation).
1 Connect the passenger air bag module electrical connector.
2 Slide and engage the passenger air bag module electrical connector locking clip.

21. Install the glove compartment and door.







22. Remove the restraint system diagnostic tool from the clockspring electrical connector at the top of the steering column.







23. Connect and position the driver air bag module to the steering wheel.
1 Connect the driver air bag module electrical connector.
2 Slide and engage the driver air bag module electrical connector locking clip.
3 Position the driver air bag module to the steering wheel.







24. Install the two driver air bag module bolts (one shown).







25. Install the two steering wheel back cover plugs (one shown).
26. Connect the battery ground cable.

27. WARNING: The restraint system diagnostic tool is for restraint system service only. Remove from vehicle prior to road use. failure to remove could result in injury and possible violation of vehicle safety standards.

With the restraint system diagnostic tools installed at all deployable devices, prove out the supplemental restraint system (SRS). Prove Out Procedure

28. Check the active restraint system for correct operation.