Operation CHARM: Car repair manuals for everyone.
Manuals through 2025 now available!

Our trusted friends have launched a new website named LEMON, which has newer manuals. It also contains all the CHARM manuals.

LEMON is the spiritual successor to CHARM, I recommend you try it!

Link: lemon-manuals.la or lemon-manuals.org.ua

(Some people have issue connecting. LEMON is investigating. For now, use Firefox or change your DNS server)

Or, hide this message: temporarily or permanently

Part 2

Engine Continued





34. NOTE: Lubricate the push rods with clean engine oil prior to installation.

Install the 12 push rods.
35. Install the 12 rocker arms.





36. NOTE: Use pipe sealant with Teflon on studs No. 4 and 6, and bolt No. 12.

Using a new gasket, install the engine front cover. Tighten the nuts and the bolts in the sequence shown.
- Install a 135.5 mm (5.42 inch) stud at location No. 5 and tighten to 7 Nm (62 inch lbs.).
- Install a 137 mm (5.48 inch) stud at locations No. 4, 6, 7 and 10, and tighten to 7 Nm (62 inch lbs.).
- Using a new gasket, install the water pump.
- Tighten bolt No. 12 to 10 Nm (89 inch lbs.). All other nuts and bolts are to be tightened to 28 Nm (21 ft. lbs.).





37. NOTE: Lubricate the parts with clean engine oil before assembly.

Using the special tool, install the front crankshaft seal.





38. Install the crankshaft position sensor.





39. Apply a bead of silicone gasket and sealant to the keyway in the crankshaft damper. Using the special tool, position and install the crankshaft damper.





40. Install the crankshaft pulley bolt.
41. Install the camshaft synchronizer.





42. Install the water pump pulley and the retaining bolts.





43. NOTE: If the oil pan is not installed within four minutes, remove the sealant and reapply.

Clean and apply the sealant to the oil pan sealing areas shown and install the oil pan rear seal.
1. Apply silicone gasket and sealant to the rear main bearing cap.
2. Install the oil pan rear seal.
3. Clean the oil pan mating surfaces with metal surface cleaner and apply silicone gasket and sealant to the oil pan mating surfaces.





44. Tighten the oil pan bolts in the sequence shown.





45. Install the oil pressure sensor.





46. Install a new oil filter.





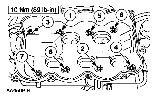
47. NOTE: Inspect the valve cover gaskets for damage. Install a new gasket, if necessary.

Install the valve covers.
1. Position the valve covers.
2. Install the bolts.
3. Install the stud bolts.





48. Install the lower exhaust manifold studs on both cylinder heads.





49. Using a new gasket, install the RH exhaust manifold. Loosely install the RH nuts.





50. Tighten the bolts in the sequence shown.





51. Using a new gasket, install the LH exhaust manifold. Loosely install the LH nuts.

LH:





52. Tighten the bolts in the sequence shown.





53. NOTE: Install a new oil level indicator tube O-ring seal.

Install the oil level indicator tube and the retaining nut.





54. Refer to the illustration for intake manifold sealing components.





55. Install the lower intake manifold front and rear end seals.
1. Apply a bead of silicone gasket and sealant to the intake manifold front and rear end seal mounting points as indicated.
2. Install the lower intake manifold front and rear end seals.





56. Position the intake manifold gaskets





57. NOTE: The lower intake manifold must be installed within four minutes of applying the sealant.

Position the lower intake manifold.
1. Apply a bead of silicone gasket and sealant to the lower intake manifold mounting at the points indicated.
2. Position the lower intake manifold.





58. NOTE: Make sure the bolts are installed in the correct locations.

Install the six long bolts.





59. Install the eight short bolts.





60. Tighten the lower intake manifold bolts in two stages in the sequence shown.
- Stage 1: Tighten to 5 Nm (44 inch lbs.).
- Stage 2: Tighten to 10 Nm (89 inch lbs.).





61. Install the water bypass tube and the mounting bolts.





62. Install the exhaust gas recirculation (EGR) valve-to-exhaust manifold tube.





63. Install the EGR valve to exhaust manifold tube upper fitting.





64. Install the ignition coil.





65. Connect the spark plug wires.
- Correctly route the spark plug wires. Connect the spark plug wires.





66. Install the positive crankcase ventilation (PCV) tube.





67. Install the PCV valve and tube.





68. Install the fuel injectors and the fuel injection supply manifold as an assembly.
69. Position the vacuum harness.





70. Connect the EGR valve vacuum hose.
71. Position the engine wiring harness.





72. Connect the ignition coil electrical connector.





73. Connect the crankshaft position (CKP) sensor electrical connectors.





74. Connect the engine coolant temperature (ECT) sensor electrical connector.





75. Connect the camshaft position (CMP) sensor electrical connectors.





76. Connect the oil pressure sensor electrical connector.





77. Connect the intake manifold runner control (IMRC) electrical connector.





78. Install the upper intake manifold spacer. Tighten the bolts in the sequence shown.





79. Connect the vacuum hose.





80. Connect the EGR vacuum regulator solenoid electrical and vacuum connections.





81. Connect the vacuum tube.





82. Install the upper intake manifold. Tighten the bolts in the sequence shown.





83. Position the wiring harness.





84. Position the spark plug wires.





85. Connect the idle air control valve (IAC) and the throttle position (TP) sensor electrical connectors.





86. Connect the differential pressure feedback EGR system electrical and vacuum connections.





87. Install the power steering pump bracket and mounting bolts.





88. Install the bolt.





89. Install the belt tensioner and bolts.
90. Install the A/C compressor and bracket.





91. Install the water pump extension tube and bracket.
92. Install the generator.
93. Install the water pump pulley.
94. Install the power steering pump.





95. Install the special tool.





96. Install the engine lifting equipment.
97. Remove the engine from the stand.





98. NOTE: Lubricate the crankshaft rear seal lips with clean engine oil prior to installation.

Assemble the special tools and the crankshaft rear seal.





99. Install the special tools on the rear of the crankshaft.





100. Install the crankshaft rear seal. Tighten the center jack screw until the spacer) contacts the engine block.