Operation CHARM: Car repair manuals for everyone.
Manuals through 2025 now available!

Our trusted friends have launched a new website named LEMON, which has newer manuals. It also contains all the CHARM manuals.

LEMON is the spiritual successor to CHARM, I recommend you try it!

Link: lemon-manuals.la or lemon-manuals.org.ua

(Some people have issue connecting. LEMON is investigating. For now, use Firefox or change your DNS server)

Or, hide this message: temporarily or permanently

Timing Components: Service and Repair

Timing Drive Components





Special Tool(s)





Material

Removal

CAUTION: Since the engine is not free-wheeling, timing procedures must be followed exactly or piston and valve damage can occur.

1. Remove the engine front cover.





2. Remove the crankshaft sensor ring from the crankshaft.





3. Disconnect the eight ignition coil electrical connectors.





4. Remove the bolts and the eight ignition coils.





5. NOTE: Use compressed air to remove any foreign material from the spark plug wells before removing the spark plugs.

Remove the spark plugs.





6. Position the lobe of the camshaft up.





7. Install the special tool between the valve spring coils to prevent valve stem seal damage.





8. NOTE: The roller followers are positional. Mark the followers for installation in their original locations.

Use the special tool to compress the valve spring and remove the camshaft roller followers.





9. Position the crankshaft with the keyway at the 12 o'clock position.





10. Remove the timing chain tensioning system from both timing chains.
1 Remove the bolts.
2 Remove the timing chain tensioners.
3 Remove the timing chain tensioner arms.





11. Remove the LH and RH timing chains and the crankshaft sprocket.
^ Remove the RH timing chain from the camshaft sprocket.
^ Remove the RH timing chain from the crankshaft sprocket.
^ Repeat for the LH timing chain and crankshaft sprocket.





12. Remove the timing chain guides.
1 Remove the bolts.
2 Remove the LH timing chain guide.
3 Remove the bolts.
4 Remove the RH timing chain guide.





13. NOTE: RH shown, LH similar.

Install the special tool.





14. NOTE: RH shown, LH similar.

Remove the bolt and the camshaft gear.

Installation

Engines with ratcheting timing chain tensioners





1. CAUTION: Timing chain procedure must be followed exactly or damage to valves and pistons will result.

CAUTION: Do not compress the ratchet assembly. This will damage the ratchet assembly.

NOTE: LH shown, RH similar.

Compress each tensioner plunger, using an edge of a vise.





2. Using a small screwdriver or pick, push back and hold the ratchet mechanism.





3. While holding the ratchet mechanism, push the ratchet arm back into the tensioner housing.





4. Install a paper clip into the hole of each tensioner housing to hold the ratchet assembly and plunger in during installation.
^ Remove the tensioner from the vise.





Engines with non-ratcheting timing chain tensioners

5. CAUTION: The timing chain procedure must be followed exactly or damage to valves and pistons will result

NOTE: LH shown, RH similar.

Compress each tensioner plunger, using a vise.





6. Install a retaining clip on each tensioner to hold the plunger in during installation.





All engines
7. If the copper links are not visible, mark one link on one end and one link on the other end, and use as timing marks.





8. Install the camshaft sprockets and new bolts. Tighten the bolts in two stages.
^ Stage 1: Tighten the bolt to 40 Nm (30 ft. lbs.).
^ Stage 2: Tighten the bolt an additional 90 degrees (1/4 turn).





9. Using the special tool, position the crankshaft so the number one cylinder is at Top Dead Center (TDC).





10. Install the crankshaft sprocket, making sure the flange faces forward.





11. Install the timing chain guide.
1 Position the LH timing chain guide.
2 Install and tighten the LH bolts.
3 Position the RH timing chain guide.
4 Install and tighten the RH bolts.





12. Rotate the RH camshaft sprocket until the timing mark is approximately at the 11 o'clock position. Rotate the LH camshaft sprocket until the timing mark is approximately at the 12 o'clock position.





13. Position the LH (inner) timing chain on the crankshaft sprocket, aligning the copper (marked) link with the timing mark on the sprocket.





14. Install the LH timing chain on the sprocket, aligning the copper (marked) link with the timing marks on the sprocket.





15. NOTE: The LH timing chain tensioner arm has a bump near the dowel hole for identification.

Position the LH timing chain tensioner arm on the dowel pin and install the LH timing chain tensioner.





Engines with ratcheting timing chain tensioners
16. Remove the retaining clip from the LH timing chain tensioner.





Engines with non-ratcheting timing chain tensioners
17. Remove the retaining clip from the LH timing chain tensioner.





All engines
18. Position the RH (outer) timing chain on the crankshaft sprocket, aligning the copper (marked) link with the timing mark on the sprocket.





19. Install the RH timing chain on the camshaft sprocket, aligning the copper (marked) link with the timing marks on the sprocket.





20. Position the RH timing chain tensioner arm on the dowel pin and install the RH timing chain tensioner.





Engines with ratcheting timing chain tensioners
21. Remove the retaining clip from the RH timing chain tensioner.





Engines with non-ratcheting timing chain tensioners
22. Remove the retaining clip from the RH timing chain tensioner.





All engines
23. Make sure that the copper (marked) chain links are lined up with the dots on the crankshaft sprocket and the camshaft sprockets.





24. Rotate the camshaft until the lobe is in the up position.





25. Install the special tool between the valve spring coils to prevent valve stem seal damage.





26. NOTE: Lubricate the camshaft roller followers using clean engine oil.

Install the camshaft roller followers.
1 Install the special tool.
2 Compress the valve spring.
3 Install the camshaft roller followers in their original locations.





27. Install the eight spark plugs.





28. Install the eight ignition coils and bolts.





29. Connect the eight ignition coil electrical connectors.





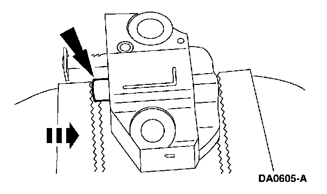
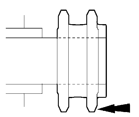
30. Install the crankshaft sensor ring on the crankshaft.
31. Install the engine front cover.